«Галактика» - многопользовательская сетевая система управления деятельностью предприятия (корпорации) решает задачи оперативного управления, бухгалтерского учета, планирования, контроля и анализа (см. Рис. 155).
· Использование технологий интерактивной аналитической обработки данных (OLAP) с возможностью детализации уровней аналитики.
· Соответствие функциональности, технологичности и степени интеграции системы современным концепциям ERP (Enterprise Resource Planinng - «планирование ресурсов предприятия»), CSRP (Custom Synchronized Resource Planning - «планирование ресурсов, синхронизированное с покупателем»), SEM (Strategic Enterprise Management - «стратегическое управление предприятием», а также стандартам открытых систем.
· Сочетание высокой степени интеграции с гибкостью - система строится в виде набора взаимосвязанных, но относительно независимых компонентов, которые приобретаются в составе и порядке, удобном конкретному клиенту.
· Обеспечение настройки Галактики на конкретную отрасль, регион, особенности бизнеса. Независимость прикладных свойств системы от программно-аппаратной платформы, гарантированная работа системы в различных операционных средах (Windows 95, 98, 2000, Windows NT, Windows XP и т.д.) и с различными СУБД - Oracle, MS SQL, Pervasive SQL (Btrieve).
Система «Галактика» обеспечивает функционирование всех подразделений территориально-рассредоточенных компании в едином информационном пространстве.
В части оперативного управления предприятием система «Галактика» обеспечивает решение следующих задач:
· управление договорными обязательствами;
· управление закупками и материально-техническое снабжение;
· управление продажами, сбыт и реализация продукции;
· управление бартерными операциями и взаимозачетами;
· управление консигнационными операциями;
· учет наличия и движения материальных ценностей (склад);
· управление продажами через торговый зал, использование интеллектуальных кассовых аппаратов;
· контроль расчетов с поставщиками и получателями;
· управление штрафными обязательствами;
· управление бюджетами, платежный календарь, финансовый анализ;
· управление производством;
· управление себестоимостью продукции, товаров и услуг;
· управление персоналом;
· управление автотранспортом;
· управление ремонтами – техническое обслуживание и ремонт оборудования.
Многие учетные задачи бухгалтерского и материального учета, налогового планирования и др. решаются без дополнительных трудозатрат путем обработки уже введенных для целей оперативного учета документов.
Система имеет модульную структуру, модули, в свою очередь, объединены в функциональные контуры. В каждом модуле присутствуют функции, предназначенные, с одной стороны, для использования, как непосредственными исполнителями, так и управленцами различного уровня, а, с другой стороны, - для решения задач, относящихся к различным видам управленческой деятельности.

Рис. 15. Состав модулей системы Галактика
В части бухгалтерского учета система «Галактика» обеспечивает решение следующих задач:
· учет кассовых и финансово-расчетных операций (ФРО);
· учет валютных операций;
· учет операций с векселями и ценными бумагами;
· учет товарно-материальных ценностей и МБП;
· учет основных средств и нематериальных активов;
· учет труда и заработной платы;
· учет фактических затрат;
· ведение главной книги и составление баланса;
· налоговый учет;
· формирование консолидированной бухгалтерской и финансовой отчетности;
· формирование бухгалтерской и финансовой отчетности в международных стандартах.
В рамках системы решается группа задач планирования: финансовое планирование, построение бюджета, календарно-сетевое (хозяйственное) планирование, планирование маркетинговых кампаний, проектов развития, техническая подготовка и планирование производства, планирование себестоимости продукции - товаров и услуг, оценка необходимых ресурсов, баланс мощностей.
Отдельно следует выделить решаемые в рамках системы серию задач контроля: контроль выполнения планов, проектов, контроль исполнения бюджета, контроль взаимных финансовых обязательств, контроль использования ресурсов, контроль неликвидов, сверхнормативных запасов, дефицитных позиций, контроль качества, отработка возвратов и рекламаций, контроль исполнительской дисциплины.
Система обеспечивает реализацию ряда необходимых предприятию задач анализа:
· выполнения планов и использования ресурсов;
· финансовой и хозяйственной деятельности;
· эффективности использования оборотных средств;
· фактических затрат (себестоимости) и отклонение их от плановых значений;
· эффективности маркетинговых мероприятий и рекламных кампаний;
· факторов определяющих качество и причины рекламаций и возвратов.
Среди других важных особенностей системы «Галактика» стоит выделить следующие:
· возможность ведения учета по стандартам отечественным стандартам так и в соответствии со стандартами GAAP.
· гибкая структура справочников и каталогов, поддерживающих иерархические структуры;
· поддержка импорта-экспорта документов и данных в формате DBF, TXT, XML;
· поддержка технологии автоматической идентификации товаров по штрих-коду, проведение инвентаризации, автоматическое формирование спецификации документов с помощью сканеров штрих-коду и др.
Система имеет модульную структуру, модули, в свою очередь, объединены в функциональные контуры (см. рис.16.).
В каждом модуле присутствуют функции, предназначенные, с одной стороны, для использования, как непосредственными исполнителями, так и управленцами различного уровня, а, с другой стороны, - для решения задач, относящихся к различным видам управленческой деятельности.
Допустимо как изолированное использование отдельных модулей, так и их произвольные комбинации, в зависимости от производственно-экономической необходимости.
Функциональный состав системы Галактика позволяет для любого предприятия определить набор компонентов, обеспечивающий решение задач управления хозяйственной деятельностью в трех глобальных разрезах: по видам ресурсов, по масштабам решаемых задач (уровню управления), по видам управленческой деятельности (см. рис 17.).
При четко налаженной технологической схеме эксплуатации системы Галактика каждый работник выполняет определенные для него инструкцией действия, получая информацию в объеме, необходимом и достаточном для осуществления своих должностных обязанностей.
Основным объектом, с которым работает Галактика, является операционный документ. Операционные документы формируются при осуществлении любой хозяйственной операции и подтверждают ее совершение. Между документами могут быть установлены связи. Совокупность операционных документов образует документооборот предприятия.
Выделяют три основных класса документов:
· Планы (финансовые, производственные и др.), определяющие запланированные и фактически достигнутые предприятием в результате его хозяйственной деятельности величины доходов и расходов;
· Документы-основания, регламентирующие операции между юридическими лицами, например, договоры, счета, счета-фактуры, контракты, требования;
· Сопроводительные документы (товарные и финансовые), отражающие суть фактически выполняемых операций.
По всем сопроводительным документам могут быть сформированы бухгалтерские проводки и финансовые операции с помощью механизма типовых хозяйственных операций.
В результате работы всех пользователей системы происходит наполнение Базы Данных предприятия (организации) оперативной информацией о ходе выполнения конкретных хозяйственных операций, относящихся к различным направлениям деятельности. При этом обеспечивается:
· принцип однократного ввода в БД информации и, как следствие, отсутствие дублирования функций пользователей, упорядочение документооборота;
· простота контроля корректности и целостности данных, персонификация действий пользователя;
· контроль регламента выполнения хозяйственных операций;

Рис. 16. Система Галактика

Рис. 17. Решение задач управления с помощью Галактики
· быстрая перестройка системы, изменение эксплуатационной схемы системы при изменении бизнес-процесса.
· администрация предприятия, используя для управления хозяйственной деятельностью систему Галактика , получает возможность:
· своевременного получения достоверной информации о текущей деятельности предприятия;
· оперативного контроля и управления финансами, материальными и трудовыми ресурсами;
· формирования обоснованных планов на основании анализа данных об имеющихся ресурсах;
· контроля выполнения планов и взаимных обязательств;
· анализа результатов деятельности и формирования оптимальных управляющих воздействий.
Система «Галактика» тиражно-заказной продукт. Этап настройки является обязательным при вводе системы в эксплуатацию, модуль Настройка входит в любой комплект поставки. В процессе настройки выполняется первичное заполнение основных каталогов, классификаторов и справочников, которые составляют единую информационную базу и используются всеми модулями системы. Дальнейшее пополнение классификаторов происходит в процессе оперативной работы.
Параметры общесистемной настройки позволяют выбрать из поставляемых с системой алгоритмов выполнения различных функций те, которые максимально соответствуют специфике данного предприятия. Параметры настройки пользователя определяют особенности работы конкретного пользователя. Часть из них, касающаяся прав доступа к документам и возможностей их редактирования, устанавливается только администратором системы.
Важным элементом подготовки системы к работе является настройка аналитик. Аналитики используются как традиционным образом для задания разрезов по счетам бухгалтерского учета и статьям бюджетов, так и для создания шаблонов описаний материальных ценностей с последующим уточнением свойств конкретной материальной ценности, отображения дополнительных полей в документах и др.
Кроме того, большинство модулей имеет собственный блок настройки. В него, в частности, включены функции настройки универсальных иерархических отчетов (Управление снабжением, Управление сбытом, Складской учет), типовых хозяйственных операций (Хозоперации ), формата входящих и исходящих документов (Обмен бизнес-документами ) и т.д. Наибольшие возможности по настройке системы предоставляются в модулях контура Управления производством, которые позволяют конструировать внешний вид документов и создать алгоритмы расчетов с учетом специфики конкретного предприятия.
К настроечным функциям можно отнести также разграничение прав доступа пользователей и настройку корпоративного межофисного обмена данными, если у организации есть удаленные подразделения. Эти функции выполняются с помощью специальных модулей Права доступа и Репликация данных, входящих в контур Системного администрирования.
Для принятия правильных решений в процессе ведения хозяйственной деятельности руководители разных уровней должны владеть информацией. Информация может быть любой: плановой, технологической, учетной, аналитической, но основные требования к ней - своевременность и достоверность. Задача модуля Руководитель - сформировать необходимую информацию о хозяйственной деятельности в требуемом разрезе, наглядно, в динамике, с предварительным анализом.
Хозяйственная деятельность предприятия характеризуется определенными показателями (детальными и агрегированными). На основе экономической целесообразности выполняется объединение показателей в логические группы, например, средства производства, предметы труда, персонал, производственный процесс, финансы, продукция. При отображении информации применяется принцип «светофора»: значения показателей, попадающие в определенные деления шкалы оценок (отлично/хорошо/удовлетворительно/плохо/опасно/ очень опасно), выделяются соответствующим цветом.
Модуль Руководитель предназначен для контроля и управления деятельностью предприятия и включает следующие функциональные возможности (Рис. 18):
· формирование целей и задач руководителя на языке агрегированных показателей;
· получение агрегированных показателей хозяйственной деятельности предприятия и передача их на уровень руководителя;
· совмещение показателей со шкалой оценок, расчет отклонений фактических значений от плановых;
· отображение показателей с любой степенью детализации наиболее наглядным и удобным способом (график, отчет, модель, числовые данные);
· отслеживание агрегированных показателей на предмет критических отклонений и варианты действий для регулирования критических состояний.

Рис. 18. Схема реализации модуля Руководитель
Показатели рассчитываются на основании информации из общей базы данных системы Галактика, наполнение которой происходит при функционировании различных модулей, например, Финансово-расчетные операции (ФРО), Управление сбытом, Производственное планирование и т.д. Кроме того, их можно импортировать из внешних систем или ввести вручную. Рассчитанные агрегированные показатели сохраняются в архиве. «Пороговые» значения вводятся в модуле Руководитель и представляют собой базу нормативно-справочной информации данного модуля.
Модуль Руководитель предусматривает различные способы представления информации:
· Получение отчета по выбранному показателю.
· Построение графика текущего состояния или трендового анализа.
· Вывод значений показателей в натуральном и/или стоимостном выражении, в процентах, в виде коэффициента.
· Расчет отклонений фактических значений показателей от плановых.
· Построение и обработка математической модели для оценки поведения системы и выбора стратегии, обеспечивающей ее наиболее эффективное функционирование.
На практике каждый руководитель отслеживает свой набор показателей. Это определяется и внешним окружением предприятия (начиная со страны, где оно находится), и его спецификой, и тем, какие показатели руководитель считает наиболее важными. Поэтому информационная система для управления предприятием должна быть индивидуальной, опирающейся на потребности и методы управления данного руководителя. Для обеспечения необходимой гибкости при реализации данного модуля применен подход интеграции с другими прикладными системами.
Модуль Руководитель включает в себя инструментальные средства для определения необходимых показателей, аналитических признаков и формул для расчета. Предоставляется механизм формирования запросов для выбора из базы данных необходимой для расчета показателей информации. Кроме того, в процессе внедрения выполняется настройка визуального представления информации с учетом используемого состава показателей, а также круга задач и пристрастий конкретного руководителя.
Бюджетирование - процесс управления финансовыми ресурсами, включающий в себя следующие этапы:
I Этап планирования (составления бюджета) и моделирования различных вариантов бюджетов
II Этап согласования и утверждения бюджетов
III Формирование фактических показателей бюджета
IV Анализ исполнения бюджета
V Проведение корректировок бюджета
Рассмотрим реализацию каждого этапа в модуле «Бюджет» более подробно.
Этап планирования (составления бюджета).
Плановые данные для различных статей бюджета могут формироваться следующими способами:
1. Формирование на основе статистических и экспертных данных.
Статистические данные могут основываться на данных прошлых периодов, обработки информации, содержащейся вне системы Галактика, экспертных оценок, специальных статистических исследований и пр. Экспертные данные вводятся в систему вручную.
2. Формирование плановых данных на основе данных прошлого периода с поправкой на динамику внешнего фактора, влияющего на данную статью или группу статей.
В качестве примеров внешних факторов могут служить индекс инфляции, индексы цен на услуги и товары, индексы, учитывающие сезонные колебания спроса, и др.
В системе есть возможность задать несколько вариантов динамики значений (сценариев поведения) того или иного фактора.
При описании статьи можно указать один или несколько внешних факторов, влияющих на данную статью.
3. Формирование данных на основе плановых данных модуля «Управление Договорами».
В системе «Галактика» в модуле «Управление договорами» содержится информация по календарным планам платежей и отгрузок по договорам. Эти данные могут быть использованы для формирования плановых показателей бюджета.
4. Формирование плановых данных расчетным способом.
Определенные статьи (например, прибыль, некоторые налоги, статьи Бюджета движения денежных средств) могут быть рассчитаны с помощью формул из других показателей бюджета.
На этапе планирования в системе может существовать несколько вариантов бюджета, которые соответствуют различным сценариям развития ситуаций, влияющих на бюджет. (Например, оптимистичный вариант бюджета может соответствовать определенному прогнозу курса валюты, увеличению объемов продаж и т.п., пессимистичный вариант бюджета будет соответствовать падению объемов продаж, увеличению затрат на приобретение сырья и т.п.)
Этап согласования и утверждения бюджетов.
Этап согласования и утверждения бюджетов представляет собой итерационную процедуру. В модуле есть возможность хранить и сравнивать данные всех итераций согласования бюджетов.
Ниже приведен один из возможных вариантов согласования бюджетов.
· В подразделениях сформировали бюджеты.
· В финансовом управлении компании или холдинга данные подразделений автоматически агрегировали.
· Получили критические показатели (например, чистый денежный поток, прибыль) и решили произвести корректировку (например, урезать) бюджеты подразделений.
· Исправили некоторые показатели бюджетов подразделений. При корректировке бюджетов подразделений сотрудник финансовой службы может произвести корректировку «статьи верхнего уровня», например урезать расходы в целом по подразделению, без детализации по другим подстатьям, а так же скорректировать данные в целом за квартал без разбивки по месяцам.
· После корректировки бюджетов подразделений опять получили критические показатели и «спустили» скорректированный вариант вниз.
· В подразделениях произвели сравнение данных, которые они передали «наверх» и скорректированных данных, которые им «спустили», и скорректировали бюджет, чтобы он удовлетворял сформирован -ным в финансовом управлении цифрам.
В результате выполнения нескольких итераций данной процедуры будет сформирован окончательный вариант бюджета.
Формирование фактических показателей бюджета.
Источником формирования фактических данных бюджетов могут быть:
1. Бухгалтерские данные системы «Галактика».
Для обеспечения попадания этих данных в модуль «Бюджет» необходимо настроить расчет фактических показателей бюджета через настройки алгоритмов обработки бухгалтерской информации.
Например, фактическое значение статьи «НДС, к перечислению бюджет» может быть задано формулой:
=Сальдо на начало 68 счета + Обороты по Кредиту 68 счета - Обороты по Дебету 68 счета
2. Оперативные данные системы Галактика.
Если уровень детализации бухгалтерского учета не удовлетворяет финансовую службу, то в системе предусмотрена возможность разноски оперативных (накладные, акты выполненных работ и т.п.) и бухгалтерских (платежные поручения, входящие платежи, акты на получение векселей и т.п.) документов по показателям бюджета.
В зависимости от бизнес-процессов конкретного предприятия разноску оперативных и бухгалтерских документов системы по показателям бюджета может осуществлять как сотрудник финансовой службы, так и бухгалтер, обрабатывающий документ с помощью механизма Типовых Хозяйственных Операций.
Данные по неавтоматизированным подразделениям или некоторым статьям бюджета могут быть введены в систему вручную.
Анализ исполнения бюджета.
Для проведения анализа исполнения бюджета в системе предусмотрена возможность сравнения плановых и фактических данных прошлых или текущего периодов. Расчет процентного отклонения плановых и фактических данных по статьям. Получение отчетности план/факт по различным аналитическим разрезам.
Проведение корректировок бюджета.
По результатам анализа исполнения бюджета возможно проведение корректировок бюджетов на последующие периоды с учетом фактических данных. По определенным статьям возможно проведение корректировок методом скользящего планирования. В модуле так же есть возможность хранить все бюджеты до и после проведения корректировок и выполнять сравнения этих бюджетов.
Возможности, которые открывает автоматизация бюджетирования с помощью системы «Галактика»:
· Автоматическое построение консолидированных бюджетов по любой сложной оргструктуре предприятия от холдинговой структуры до структуры отделов и подразделений.
· Автоматизация процедуры согласования бюджетов и хранение данных по всем этапам согласования.
· Возможность формировать и анализировать различные варианты (сценарии) бюджетов.
· Гибкая настройка аналитических признаков статей и их визуального представления в типовых формах бюджетов.
· Формирование плановых показателей бюджетов по оперативным планам в системе Галактика (например, формирование бюджета на основе календарных планов договоров).
· Формирование фактических показателей бюджета в автоматическом режиме на основе оперативных и бухгалтерских данных системы Галактика.
· Возможность агрегировать бюджет по нескольким вариантам оргструктуры (Например, по оргструктуре юридических лиц и по оргструктуре функционального подчинения).
· Гибкая настройка представления форм бюджетов для каждого подразделения.
· Распределение значений статей одного бюджета по статьям другого, что необходимо, например, при расчете налогов, с использованием моделей распределений по центрам ответственности.
· Разграничение доступа пользователей к различным вариантам и копиям бюджетов с помощью механизма областей видимости, стадий и масок бюджетного процесса.
Назначение модуля Платежный календарь - решение задач оперативного финансового управления денежными потоками. Модуль является инструментом контроля исполнения финансовых обязательств, обеспечения абсолютной ликвидности платежных средств, минимизации риска неплатежеспособности.
Главной задачей модуля является получение оптимального варианта балансировки Платежного календаря, который служит задачам организации учетного порядка в финансовой деятельности предприятия.
Основаниями для формирования финансовых обязательств служат все оперативные документы системы.
В Платежном календаре возможно представление данных с группировкой по любым выбранным признакам: статьям бюджета, контрагентам, подразделениям, диапазонам сумм и проч.
Модуль обеспечивает:
· краткосрочное (до одного месяца) планирование расчетов с контрагентами на основе использования денежных средств, векселей и других видов ценных бумаг;
· оптимизацию Платежного календаря по заданным критериям с помощью операции моделирования;
· планирование остатков денежных средств на расчетных счетах и в кассе предприятия;
· проведение операций продажи/покупки валюты и ее конвертации;
· контроль баланса доходов и расходов с учетом «ликвидной подушки» по каждому из видов платежных средств;
· учет фактических поступлений платежных средств и их отклонение от запланированного за определенный период времени в разрезе источников поступления;
· составление оперативных отчетов о движении денежных средств для последующего анализа.
Основная задача анализа - оценка экономического (финансового) состояния предприятия и выявление перспектив его дальнейшего развития.
Функциональные средства модуля ориентированы на предприятия всех форм собственности и учитывают требования, предъявляемые к финансовой отчетности, как национальным законодательством, так и международными стандартами. Инструментарием модуля можно воспользоваться для анализа документов внутренней отчетности, характеризующих финансовые потоки и ресурсы предприятия, в том числе для анализа доходов/расходов перед балансировкой Платежного календаря. Финансовый анализ производится на основе данных баланса предприятия, а также на основе различных справок и приложений. Экономический анализ производится после выполнения функции импорта отчетов, как из внешних источников, так и из других модулей системы.
Вся входная информация программно контролируется путем взаимной увязки показателей с приведением исходных данных в выбранный стандарт отчетности.
Анализ финансового состояния может производиться по нескольким методикам, позволяющим рассчитывать значения одних и тех же показателей с помощью разных формул, описывающих соотношение показателей в старом и новом стандарте. Модуль предоставляет широкие возможности проведения всестороннего анализа значений любых показателей с получением настраиваемых выходных отчетов по любой совокупности центров ответственности, с учетом механизмов индексации, консолидации, по заданным периодам.

Рис. 19. Схема информационных потоков Контура логистики
Контур логистики обеспечивает детализацию и выполнение планов снабжения и сбыта; управление материальными потоками внутри предприятия и при взаимодействии с поставщиками и получателями продукции, товаров и услуг; контроль взаиморасчетов с поставщиками и получателями.
Схема информационных потоков контура приведена на рис. 19.
В базовый комплект поставки Контура логистики включены модули Складской учет, Управление снабжением, Управление сбытом и Поставщики, получатели. Другие модули и контуры можно приобретать и внедрять поэтапно по мере необходимости.
Модуль Управление договорами предназначен для автоматизации бизнес-процедур, связанных с заключением, исполнением и учетом договоров и контрактов. Он может использоваться для автоматизации договорной деятельности во многих отраслях промышленности, транспорта, торговли и т.д. При этом упрощается решение следующих задач:
· Заключение договоров (конкретных и рамочных), связанных, в первую очередь, со снабжением и сбытом. Учет расчетов по договорам, в том числе векселями и ценными бумагами.
· Конкретизация рамочных договоров путем заключения дополнительных соглашений, уточняющих взаимоотношения сторон на определенный период.
· Формирование календарных планов движения товаров, услуг и платежей. Расчет штрафов за нарушение условий и сроков отгрузки и оплаты.
· Формирование наряд-заказов на отгрузку товаров на внутренний и внешний рынок.
· Организация транспортировки и формирование платежных документов. При этом выполняется расчет потребности в единицах подвижного состава и транспортных средствах, формируются счета на предоплату за товары/услуги по транспортировке. Возможна отгрузка товаров железнодорожным и автомобильным транспортом с формированием сопроводительных документов.
· Формирование отчетности и проведение окончательных расчетов. На этом этапе, на основании товарно-сопроводительных документов, осуществляется учет выполнения наряд-заказов, формируются платежные документы для оплаты услуг по транспортировке, контролируется дебиторская и кредиторская задолженности, анализируется состояние взаиморасчетов. Для этого используются акты сверки взаиморасчетов, в которых фиксируются объемы отгруженных товаров и расходы на транспортировку в стоимостном выражении, суммы платежей, суммы оказанных услуг, наличие задолженности.
Модуль Управление договорами (рис. 20.) позволяет автоматизировать следующие типовые бизнес-процессы:
Бизнес-процесс №1.
· на длительный период заключается договор, в котором помимо реквизитов сторон и общих условий, рамочно (в общих чертах) определяются условия отгрузки и оплаты, а также обобщенная спецификация;
· на основании определенных в договоре условий могут формироваться соглашения, на определенный период, уточняющие взаимоотношения сторон;
· на основе договора или соглашения формируется календарный план;
· на основании календарного плана поставок или непосредственно по договору (соглашению) формируются наряд-заказы филиалам или грузоотправителям;
· наряд-заказы по каждому филиалу (грузоотправителю) объединяются в распоряжения на отгрузку;
· по наряд-заказам, включенным в распоряжения на отгрузку, формируются накладные на отгрузку;
· по накладным формируются складские ордера;
· по накладным формируются счета на оплату;
· производится оплата по счетам;
· производится разноска платежей.
Бизнес-процесс №2.
· на длительный период заключается договор, в котором рамочно определяются условия отгрузки и оплаты, а также обобщенная спецификация;
· на основании условий договора могут формироваться соглашения, уточняющие взаимоотношения сторон;
· на основе договора или соглашения формируется календарный план;
· на основании календарного плана поставок или непосредственно по договору (соглашению) формируются счета (документы-основания) на оплату;
· по счетам формируются накладные на отгрузку;
· по накладным формируются складские ордера;
· производится оплата по счетам;
· производится разноска платежей.
Перечень основных отчетов модуля:
Итоговый и товарно-финансовый отчеты об исполнении договоров содержат информацию об объемах взаимных отгрузок/поставок и размерах платежей за период и позволяют сравнить запланированные объемы с фактическими. Плановые показатели определяются на основании календарных планов к договорам, а фактические - из проведенных накладных и платежных документов.

Рис. 20. Связь документов в модуле Управление договорами
Товарная часть отчета об исполнении договоров и финансовая часть с нарастающим итогом подобны товарно-финансовому отчету, но содержат соответственно информацию только об объемах взаимных отгрузок/поставок или только о размерах платежей. Эти отчеты также позволяют сравнить плановые и фактические показатели.
Отчеты об исполнении договоров, наряд-заказов и распоряжений на отгрузку по номенклатуре позволяют получить информацию об объемах поставленных/отгруженных за период материальных ценностей.
Отчеты по хронологии отгрузок и хронологии платежей предоставляют информацию о проведенных накладных и платежных документах по договору, соответственно. Документы в отчетах располагаются в хронологическом порядке. В отчете по хронологии отгрузок также приводятся данные о складских ордерах, сформированных по накладным.
Отчеты по исполнению наряд-заказов и исполнению распоряжений на отгрузку содержат информацию о наряд-заказах, распоряжениях на отгрузку и сформированных по ним накладных. Имеется возможность включения в отчет данных по всем или только по исполняемым документам, а также - по всем или только по проведенным накладным.
Реестры договоров, наряд-заказов и распоряжений на отгрузку.
Отчеты являются интерактивными. Это значит, что перед выводом на печать можно «раскрыть» данные отчета, т.е. просмотреть и при необходимости откорректировать первичные документы, на основании которых эти данные были получены.
Гибкая система настроек позволяет получать исчерпывающие отчеты в различных разрезах, за любой период и с разными уровнями детализации. Каждый пользователь системы может создать свой набор настроек отчетов. При этом все настройки сохраняются в базе данных и доступны в любой момент.
Стандартные функции подразделения, отвечающего за закупки необходимых предприятию товаров и материалов, получение услуг, обычно предполагают:
· ведение картотеки предложений потенциальных поставщиков;
· отслеживание поступающих от других подразделений требований (заявок) на приобретение;
· составление плана закупок в соответствии с заключенными договорами и долгосрочными контрактами;
· выбор конкретного поставщика и формирование заказа на поставку;
· регистрацию документов, на основании которых производится закупка (счета, договоры, контракты, гарантийные письма);
· оформление доверенностей на получение;
· распределение материальных ценностей по складам;
· контроль состояния договоров и платежных документов на приобретение (оплачено/не оплачено/просрочено);
· получение различных отчетов в разрезе отслеживаемой номенклатуры, партий, групп и используемых систем классификации.
В системе Галактика функции по отслеживанию предложений поставщиков, планированию закупок, выбору поставщика выполняются вне модуля Управление снабжением. В зависимости от состава используемых модулей системы и степени ее внедрения входные данные для модуля Управление снабжением могут формироваться разными способами:
· План закупок формируется в модуле МТО, на его основе создаются заявки поставщикам, а по ним - ДО на закупку
· План закупок вводится непосредственно в модуле Управление снабжением, его выполнение контролируется путем автоматического расчета фактических поставок согласно введенным в систему документам.
· ДО на закупку формируются автоматически на основании выполняемого в модуле Управление сбытом прогноза дефицитов.
· Поступающие заявки на закупку вводятся как ДО, находящиеся в состоянии «Оформляемый» и по мере необходимости переводятся в состояние «Исполняемый».
Для контроля взаиморасчетов с поставщиками служит модуль Поставщики, получатели.
Непосредственно в модуле Управление снабжением сосредоточены операции по работе с конкретными документами на приобретение: документами-основаниями, накладными, доверенностями.
Процесс решения задачи управления снабжением иллюстрирует схема на рис. 21.
Отличительные особенности реализации задачи управления закупками:
· использование в документах на закупку как товарных, так и нематериальных позиций (услуг);
· учет партий закупаемых товаров, отслеживание сроков хранения, сроков действия лицензий и сертификатов;
· поддержка различных валют и международных закупок; регистрация грузовых таможенных деклараций и сведение баланса расчетов с таможенными органами;
· учет таможенных пошлин, транспортных и прочих затрат при вычислении учетной цены закупаемых материальных ценностей;
· учет возвратов по рекламации;
· автоматизированное распределение материальных ценностей по складам;
· автоматическое формирование приходных складских ордеров по группе накладных;
· формирование платежных документов на оплату по документам-основаниям и авизо по сопроводительным документам;
· формирование доверенностей на получение матценностей;
· формирование документов-оснований по сопроводительным документам;
· отражение в Бухгалтерском контуре всех операций по закупкам материальных ценностей и услуг с помощью механизма типовых хозяйственных операций;
· автоматизированное создание финансовых обязательств по ДО на закупку, используемых при ведении Платежного календаря предприятия.
Стандартные отчеты:
· отчеты о закупаемых матценностях и услугах в разрезе номенклатуры, поставщиков, групп, партий, внешней классификации;
· аналитические отчеты по закупкам;
· иерархические отчеты по исполнению групп ДО;
· отчет о платежах по группам ДО;
· иерархические реестры ДО и сопроводительных документов;
· отчет о несоответствиях в документах на закупку.

Рис. 21. Схема решения задач Управления снабжением
Функции ввода и обработки документов в модуле Управление сбытом реализованы аналогично модулю Управление снабжением.
Новыми элементами по сравнению с управлением снабжением являются: формирование отпускных цен, резервирование отпускаемых по документам-основаниям материальных ценностей.
Процесс решения задачи управления сбытом иллюстрирует схема на рис. 22.
Модуль Управление договорами предоставляет возможность формировать документы и проводить расчеты для оперативного контроля и управления отгрузкой товаров на всех этапах. Документы-основания и накладные на продажу можно формировать как в модуле Управление сбытом, так и в модуле Управление договорами.
Формирование отпускных цен выполняется с помощью прайс-листов. Система Галактика позволяет создавать и поддерживать произвольное число различных прайс-листов. Так, можно иметь отдельные прайс-листы для крупнооптовой и мелкооптовой торговли, для определенных групп товаров и услуг и т.п.
Прайс-лист можно формировать вручную либо автоматически, рассчитывая предполагаемую цену реализации путем добавления к учетной или заводской цене матценности описанных пользователем торговых наценок (скидок) и налогов.
При оказании услуг, стоимость которых не является фиксированной, а зависит от определенного набора параметров и рассчитывается по заданному тарифу, используется механизм расчетных услуг.
Из особенностей реализации модуля Управление сбытом следует отметить следующие возможности:
· учет типа налогообложения при оформлении документа;
· формирование документов в национальной либо любой из зарегистрированных в системе валют с расчетом соответственно рублевого или валютного эквивалента; возможность корректировки курса валюты непосредственно в процессе формирования документа;
· автоматическое формирование номеров документов на продажу с возможностью их корректировки пользователем;
· автоматическое либо ручное резервирование МЦ по предприятию, складу или разрезу хранения при выписке документа и гибкое управление резервом;
· произвольное число как товарных, так и нематериальных позиций (услуг) в документе на продажу;
· возможность ведения продаж наборами товаров;
· гибкое изменение цен путем оперативной корректировки прайс-листов;
· динамический контроль наличия товаров на складе при выписке счета; возможность оформлять счета для отсутствующих в наличии товаров (вариант предоплаты);
· автоматическое формирование накладных по выписанному документу-основанию; управление выбором склада, с которого должна произойти отгрузка; контроль повторных попыток оформить накладную на отпуск по уже исполненному документу-основанию;
· количественный и стоимостной учет отгруженной и возвращенной покупателем тары с учетом нормы естественной убыли; формирование отчетности по операциям с тарой;
· оперативный учет показателей качества с формированием удостоверений качества;
· ведение счетов-фактур для учета НДС;
· ведение товарно-транспортной информации в документах на отпуск;
· сопряжение с электронными весами и автоматический перенос результатов взвешивания в накладные на отпуск;
· учет возвратов матценностей по рекламациям;
· возможность автоматически производить списание товара на складе при оформлении накладной на его отпуск;
· автоматическое формирование расходных складских ордеров по группе накладных;
· пакетное формирование товарных и финансовых сопроводительных документов по документам -основаниям;
· формирование групп счетов для контрагентов, находящихся на абонентском обслуживании;
· прогнозирование объемов закупок и формирование заявок на дефициты;
· отражение в Контуре бухгалтерского учета всех операций по реализации материальных ценностей и услуг с помощью механизма типовых хозяйственных операций;
· автоматизированное создание финансовых обязательств по ДО на продажу, используемых при ведении Платежного календаря предприятия.
Стандартные отчеты:
· печать накладных по типовым формам, в том числе железнодорожных, на отпуск самовывозом и др.;
· отчеты о реализованных товарах и услугах в разрезе номенклатуры, групп, партий, внешней классификации, получателей;
· аналитические отчеты по реализации;
· отчеты по оплаченности отгрузок;
· иерархические отчеты по исполнению групп ДО;
· отчет о задолженности контрагентов по возвратной таре;
· иерархические реестры документов-оснований и сопроводительных документов;

Рис. 22. Схема решения задач Управления сбытом
· отчет о несоответствиях в документах на продажу.
Модуль Складской учет тесно связан с задачами управления снабжением и сбытом, а также учетом материалов в производстве. Складские ордера формируются по сопроводительным документам на прием и отпуск матценностей (МЦ) во всех модулях, где создаются такие документы.
Основные возможности модуля Складской учет:
· ведение приходных и расходных складских ордеров, распределение МЦ по материально-ответственным лицам, партиям, ячейкам хранения;
· учет МЦ в нескольких валютах;
· учет операций с МЦ с помощью карточки складского учета;
· учет операций внутреннего перемещения: между складами; передача МЦ со склада в основные средства, нематериальные активы, подразделения розничной торговли; передача МЦ со склада в МБП и обратно;
· слежение за доставкой грузов получателю путем формирования транзитных накладных по маршруту движения;
· динамический пересчет складских остатков;
· учет партий МЦ, контроль сроков хранения партий, сроков действия сертификатов (лицензий);
· ведение учетных цен, поддержка методик списания по средневзвешенным ценам, LIFO, FIFO, средневзвешенным ценам по разрезу хранения «Склад - МОЛ - Партия»;
· проведение инвентаризации, формирование ведомости фактического наличия, сличительной ведомости по итогам инвентаризации, ведомости по рассогласованным позициям, актов о недостаче и об излишке;
· проведение переоценки МЦ в связи с изменением курса валют, по цене последнего приобретения и т.д.;
· учет операций комплектования и разукомплектования МЦ на складах;
· учет пересортицы;
· формирование ведомостей наличия МЦ на любую дату в разрезах: склад, МОЛ, партия МЦ, инфраструктура склада;
· формирование ведомостей движения за период в разрезах: контрагент, склад, МОЛ, группа МЦ, партия МЦ;
· формирование оборотных ведомостей по складам, МЦ, партиям;
· формирование накопительных ведомостей по приходам и по расходам;
· контроль неликвидов, сверхнормативов, дефицитных позиций;
· контроль соответствия накладных и складских ордеров;
· просмотр бухгалтерских проводок по складским ордерам.

Рис. 23. Схема реализации модуля Складской учет
Реализованную в модуле Складской учет технологию выполнения складских операций иллюстрирует схема на рис. 23.
Модуль Поставщики, получатели предназначен для контроля за порядком расчетов с поставщиками и получателями по исполняемым документам-основаниям (ДО).
Функции модуля можно разделить на следующие группы:
· контроль взаиморасчетов посредством установки и просмотра связей между ДО и платежными документами; пакетное распределение платежей;
· создание актов взаимозачетов и договоров уступки долга (цессии);
· расчет штрафных санкций;
· ведение счетов-фактур для учета НДС;
· ввод планов закупок и реализации;
· учет долгов, контроль взаиморасчетов с помощью отчетов.
Основные отчеты:
· реестр исполняемых ДО с учетом сформированных по ним товарных и финансовых сопроводительных документов;
· обороты и задолженности по исполняемым ДО с разноской задолженностей по заданным периодам и подбивкой итогов по контрагенту и всем выбранным контрагентам;
· прогноз налоговых платежей;
· контроль взаиморасчетов с контрагентами, расчет сальдо и составление платежного баланса по контрагенту;
· проверка дебиторской и кредиторской задолженностей денежных средств и МЦ/услуг.
Контур Управления производством предназначен для решения задач объемно-календарного планирования хозяйственной деятельности (сбыт, производство, снабжение), контроллинга производственных затрат, автоматизированного учета материальных ценностей и услуг в производстве. Отдельные модули разработаны для ведения спецификаций изделий и управления ремонтами.
При разработке модулей планирования применен объектный подход, что позволяет говорить о создании универсальной системы управления производством - бизнес-конструктора, ориентированного на предприятия различных отраслей промышленности.
Возможность создания иерархической структуры хозяйственных планов c использованием консолидации и декомпозиции планов, построение произвольных многоуровневых аналитических разрезов в документах и нормативах, гибкость настройки алгоритмов при расчете плановых показателей, автоматическая запись в планы фактических данных из товарно-сопроводительных документов, система разграничения прав доступа, возможность экспорта данных из документов планирования в MS Excel - все это позволяет обеспечить непрерывность процесса планирования, реагирующего как на «факт», так и на другие обстоятельства, влияющие на хозяйственную деятельность предприятия.
Таким образом, оставляя в прошлом понятие плана как «догмы», Галактика превращает планирование в каждодневный процесс, создающий основу для выработки и принятия оптимальных оперативных и стратегических решений.
Основной составляющей любой системы документооборота являются документы. В модулях планирования реализовано два типа объектов, на основе которых создаются все документы, это - заявка и план.
Заявки представляют собой электронные формы, с помощью которых осуществляется связь между оперативными документами (договорами, документами-основаниями), планами (сбыта, снабжения, производственной программой), производственными заказами.
Жизненный цикл документов, создаваемых на объекте заявка, состоит из трех основных стадий:
· заявка - оформляемый, предварительный документ; протокол о намерениях;
· заказ - принятый к исполнению документ; заказ, как правило, связан с договором, если заказчиком или исполнителем является внешний контрагент;
· закрытый - полностью выполненный или снятый с производства заказ.
Таким образом, на объекте заявка может формироваться целый ряд различных по смыслу документов, например, заявка отделу снабжения на закупку материалов и комплектующих, заказ на выполнение субподрядных работ и т.д.
На объекте план формируются следующие документы:
· все планы: планы сбыта (модуль Управление заказами), производственные планы (модуль Планирование производства), планы снабжения (модуль МТО);
· потребности в материалах, потребности в трудовых ресурсах, потребности в оборудовании (модуль Планирование производства);
· производственные заказы (модули Планирование производства, Учет в производстве).
На основе каждого из перечисленных выше типов документов может также формироваться ряд других документов. Например, на основе плана снабжения формируются: сводный план МТО, ассортиментный план-график закупок, план по внутренней кооперации и т.д. Эти документы могут образовывать иерархию или существовать независимо.
Несмотря на глубокую внутреннюю интеграцию слоя производственного планирования, каждый из его элементов можно рассматривать как базис для соответствующего модуля контура логистики: МТО - планирование снабжения (см. связи на рис. 24. - по кругу и прямые), Управление заказами - планирование сбыта, Планирование производства - формирование производственных заказов для модуля Учет в производстве.

Рис. 24. Связи управления производством и логистики
Модули Управление заказами и Материально-техническое обеспечение (МТО) предназначены для автоматизации бизнес-процедур, связанных с планированием и контролем исполнения планов по таким видам хозяйственной деятельности, как сбыт и материально-техническое снабжение. Кроме того, планы сбыта и снабжения связаны с производственным планированием, что и позволяет создать сбалансированную систему планирования на предприятии в любом заранее заданном варианте бизнес-процесса.
Основные задачи модуля Управление заказами:
· Регистрация в системе спроса в виде прогнозных и реальных заявок от потребителей продукции, а также заявок от подразделений на выполнение работ, оказание услуг; заявки можно формировать также и по имеющимся с потребителями договорам (модуль Управление договорами);
· Формирование плана сбыта и реализации готовой продукции (выполнения работ, оказания услуг), графиков, заявок на производство и закупку. Расчеты производятся с учетом нормативных запасов и ожидаемых остатков продукции на начало планируемого периода;
· Контроль исполнения планов и заявок потребителей по оперативным документам;
· Подготовка исходных данных для формирования других планов и проведения расчетов в сопряженных модулях.
Модуль Материально-техническое обеспечение обеспечивает эффективное использование оборотных средств за счет снижения уровня запасов материальных ресурсов. Основными задачами являются:
· Регистрация заявок на материальные ресурсы;
· Расчет сводной потребности;
· Планирование снабжения на основании сводной потребности или плана сбыта с учетом страховых запасов и ожидаемых остатков на начало планируемого периода;
· Контроль исполнения заявок и планов.
В результате работы модуля могут быть сформированы различные плановые документы, например:
· заявки на материальные ресурсы;
· сводная потребность в материальных ресурсах;
· план снабжения;
· план закупок;
· график заказа;
· график закупок;
· график обеспечения подразделений сырьем и материалами;
· заявки поставщикам.
Заявки поставщикам можно формировать также и по имеющимся с ними договорам. На основании заявки поставщику в контуре Логистики будет сформирован счет, и затем - сопроводительные документы.
Модуль Планирование производства предназначен для решения задач объемно-календарного планирования производства до цехового уровня. Этот модуль имеет мощный блок настройки, предусмотрено ведение календарно-плановых нормативов для MRP-расчетов, анализ планов на выполнимость по материальным, трудовым ресурсам и производственной мощности и многое другое.
В модуле можно выделить следующие крупные функциональные блоки:
· формирование плана производства конечной продукции с учетом данных независимого спроса, плана сбыта и внутренних заказов;
· расчет потребностей в материалах, формирование заказов службе МТО на обеспечение ресурсами и производственных заказов на изготовление полуфабрикатов;
· планирование загрузки производственных мощностей с учетом ограничений по ресурсу работы оборудования и трудовым ресурсам.
На основании заказа на партию готовой продукции производится расчет потребностей в полуфабрикатах и покупных комплектующих. По длительности производственных циклов изготовления вычисляются необходимые сроки запуска и выпуска партий полуфабрикатов, а по срокам поставки покупных компонентов - необходимые сроки выдачи заказов на закупку.
В соответствии с маршрутными картами определяются рабочие центры, задействованные в производстве партий полуфабрикатов и продукции (цеха и группы оборудования). Рассчитываются потребности в ресурсах по рабочим центрам.
На основе производственного календаря рассчитываются фонды производственных мощностей (предельные ресурсы работы оборудования и трудовые) по календарным периодам. Вычисляется профиль загрузки производственных мощностей по каждому рабочему центру и периодам.
В ходе планирования формируются такие документы как:
· план потребностей в конечной продукции;
· производственная программа предприятия;
· план потребностей в покупных материалах;
· план потребностей в трудовых ресурсах;
· план загрузки производственного оборудования;
· создаются производственные заказы - задания цехам.
Модуль Спецификации продуктов позволяет описать состав продукции и технологию ее изготовления, на основании которых рассчитываются потребности в ресурсах. Он, как правило, используется в связке с модулем Планирование производства.
Основное назначение модуля - вести конструкторские и производственные спецификации продукции, а также маршрутные карты, на основании которых в других модулях производится расчет потребностей в материальных и трудовых ресурсах, выполняется планирование производства.
Модуль позволяет вести каталог Технологических операций, а также создавать Типовые технологические операции. Типовые операции используются в тех случаях, когда для нескольких техопераций, например, для различных исполнений одного и того же изделия, существуют одинаковые значения параметров и операционные нормы. Создание типовых техопераций существенно ускоряет ввод маршрутных карт: при выборе такой операции в спецификации маршрутной карты может потребоваться лишь незначительная корректировка норм.
Реализовано ведение Конструкторских спецификаций , Производственных спецификаций и Маршрутных карт изготовления изделий.
Если требуется учитывать только материальные нормы, и технологией производства не предусмотрено перекрытие операций по времени, а также выполнение некоторых операций внешними организациями, то достаточно вести производственные спецификации. В производственной спецификации можно задать:
· нормы расхода сырья, материалов и комплектующих;
· нормы выхода продукции при переработке сырья или попутной продукции;
· нормы отходов при переработке сырья и материалов;
· перечень допустимых замен компонентов.
При более сложной технологии производства описание процесса изготовления изделий включает ведение технологических операций и маршрутных карт. В маршрутных картах указывается последовательность технологических операций изготовления с привязкой их к местам выполнения (подразделениям и группам оборудования). В маршрутной карте можно задать на каждую операцию:
· нормы времени;
· материальные нормы расхода материалов или выхода продукции; отходов;
· нормы трудозатрат;
· нормы использования оборудования, инструмента и оснастки;
· нормы потерь продукции.
Если пользователю требуется решать с помощью системы весь комплекс задач технологической подготовки производства, предусмотрено ведение конструкторских спецификаций - документов, содержащих сведения о материальных нормах и конструкторской документации на изделие. В этом случае описание технологии изготовления изделия предполагает создание цепочки документов: конструкторская спецификация a производственная спецификация a маршрутная карта.
Ведение конструкторской и технологической документации предполагает не только ввод документов, но и оперативную их корректировку по Извещениям об изменениях. Извещения об изменениях включают список заменяемых матценностей с указанием коэффициентов замены и список документов, на которые распространяются эти изменения.
Среди наиболее существенных преимуществ, которые дает использование модуля Спецификации продуктов - возможность учета специфики различных видов производства посредством импорта файла параметров, ведение групповых спецификаций и типовых технологических операций, использование пользовательских алгоритмов расчета и нормативных таблиц.
Модуль Контроллинг предназначен для расчета производственных затрат с учетом вариантов запланированных затратных статей, цен ресурсов, схем распределения косвенных расходов. Планирование затрат на период осуществляется на основании данных модуля Планирование производства. Расчет фактических затрат выполняется на основании производственных отчетов или первичных документов, сформированных в модуле Учет в производстве.
Модуль Контроллинг позволяет:
· вести каталог цен ресурсов и рассчитывать цены по заданным алгоритмам;
· выполнять оперативную оценку себестоимости объектов учета затрат по заданному набору статей;
· рассчитывать плановые и фактические производственные балансы;
· рассчитывать плановые и фактические калькуляции согласно гибко настраиваемым вариантам калькулирования;
· рассчитывать и анализировать отклонения фактической себестоимости от плановой, а также сравнивать себестоимости, рассчитанные по различным вариантам;
· рассчитывать экономические показатели.
Плановые показатели рассчитываются на основании сведений модуля Производственное планирование, фактические - по данным оперативного учета из модуля Учет в производстве.
В модуле Контроллинг реализованы сложные расчетные алгоритмы, особенно в части распределения косвенных расходов. Модуль позволяет оперативно выполнять расчеты, делать оценки и анализировать отклонения, которые просто невозможно осуществить при ручном ведении управленческого учета.
Основное назначение модуля Контроллинг - оценка и анализ себестоимости. Модуль выполняет:
· предварительную оценку себестоимости;
· планирование затрат на период;
· расчет фактических затрат.
Предварительная оценка себестоимости объектов учета затрат заключается в расчете калькуляции по заданному набору наиболее «весомых» статей затрат. Прямые затраты рассчитываются по нормам, описанным в модуле Спецификации продуктов. Кроме того, можно рассчитать вторичные статьи как процент от других статей и начислить введенные вручную суммы косвенных затрат пропорционально заданной базе.
Планирование затрат на период осуществляется на основании данных модуля Планирование производства. По выбранному варианту производственного плана рассчитывается производственный баланс, формируются плановые бюджеты основных и накладных расходов, рассчитывается свод затрат на период. Затем осуществляется распределение затрат по указанной схеме и собственно расчет калькуляций в определенном пользователем аналитическом разрезе. Проанализировать полученные результаты можно с помощью отчетов по себестоимости.
Расчет фактических затрат выполняется по той же схеме, что и планирование затрат. Отличие заключается в том, что в данном случае входные данные для расчета производственного баланса берутся из производственных отчетов или первичных документов, сформированных в модуле Учет в производстве.
В модуле «Учет в производстве» реализован учет движения сырья, полуфабрикатов, готовой продукции и услуг в производстве.
В модуле ведется база первичных документов:
· лимитно-заборные карты, акты на дополнительный отпуск;
· накладные на передачу матценностей (на отпуск в производство, передачу между цехами, приход готовой продукции, возврат на склад);
· акты списания материальных ценностей;
· акты на брак;
· акты на оказание услуг между подразделениями;
· акты замен.
Однако центральным связующим элементом документооборота в модуле является производственный заказ, который, как правило, автоматически формируется в модуле Планирование производства. Формирование заказа в полном объеме подразумевает задание перечня изделий и полуфабрикатов собственного производства, материальных норм для них, а также склады отгрузки сырья и комплектующих материалов.
Ведение производственного заказа позволяет через редактор связей собрать в единое учетное поле многочисленные разрозненные документы (ЛЗК, накладные, акты, ордера), с помощью которых оформляется движение матценностей, используемых в процессе изготовления конкретной продукции. Такой подход создает основу для расчета фактических затрат.
Помимо стандартной процедуры формирования ТХО и бухгалтерских проводок по первичным документам производства в модуле реализован дополнительный механизм сбора прямых материальных затрат на выпуск готовой продукции - производственные отчеты. При формировании производственного отчета производственными и бухгалтерскими службами предприятия сводятся воедино количественные и стоимостные показатели в соответствии с установленным уровнем доступа. Данные из производственного отчета используются в модуле Контроллинг для расчета фактических производственных балансов и калькуляций.
Все учетные процедуры, связанные с движением МЦ, автоматизированы. Вместе с тем, практически на каждом этапе работы у пользователя есть выбор - принимать автоматически рассчитанные характеристики, либо корректировать их вручную. Последнее обстоятельство особенно важно с точки зрения работы с модулем в условиях специфики конкретных предприятий, а также возникающих нештатных ситуаций.
Модуль предназначен для планирования и учета производства и товародвижения в корпоративных кооперационных промышленных сетях. В результате его эксплуатации решаются следующие задачи:
· сбор и обработка заявок потребителей продукции;
· планирование производства и товародвижения по всей кооперационной (логистической) сети от поставщиков сырья до производителей конечной продукции и поставок клиентам;
· формирование договоров на переработку давальческого сырья, производство и продажу продукции со всеми участниками кооперационной сети;
· контроль выполнения договоров;
· контроль запасов продукции и незавершенного производства на предприятиях - участниках кооперационной сети на основе отчетности предприятий;
· учет и контроль товародвижения между предприятиями;
· контроль прохождения давальческого сырья и поставок готовой продукции через таможни;
· формирование сводной аналитической отчетности для руководства корпорации (головного предприятия).
Отчетность модуля позволяет получить в удобной форме и сравнить плановые и фактические данные по:
· закупкам сырья у поставщиков;
· остаткам сырья на предприятиях;
· поставкам сырья на предприятия;
· производству полуфабрикатов и продукции предприятиями;
· поставкам продукции в адрес головного предприятия;
· поставкам продукции потребителям;
· финансовым расчетам между головным предприятием и контрагентами.
Модуль Управление ремонтами предназначен для использования в ремонтных службах предприятия (ОГМ, ОГЭ, службе содержания зданий и сооружений). Основной задачей модуля является обеспечение надежного функционирования оборудования и должного содержания производственных помещений, планирование для этого потребностей в ресурсах, учет использования затрат на ремонтные и профилактические работы.
Работа модуля построена на принципах классической системы планово-предупредительных ремонтов (ППР), применяемой многими предприятиями различных отраслей промышленности.
На рис. 25. представлена схема, по которой выполняется планирование профилактических и ремонтных работ для поддержания в рабочем состоянии оборудования и производственных мощностей в модуле Управление ремонтами.
Основным методом системы ППР является метод периодического ремонта, при котором очередные плановые ремонты производятся в заранее установленные сроки после отработки определенного количества часов, причем содержание каждого ремонта окончательно устанавливается в процессе проведения технического осмотра, в зависимости от состояния отдельных деталей и узлов.

Рис. 25. Схема управления техническим обслуживанием и ремонтом оборудования
Объектами ремонта могут выступать, кроме оборудования, здания и сооружения, средства измерения, вычислительная техника и т.п. Каталог объектов ремонта может быть представлен либо в виде линейного списка, либо в виде дерева связей объектов с иерархией по любому признаку. Например, если в качестве узлов дерева взять подразделения, то получится иерархия по месту установки объектов, а если включить одни объекты в состав других, то можно описать структуру оборудования по узлам или по агрегатам.
На рис. 26. изображена схема, на основе которой выполняется планирование выполнения профилактических и ремонтных работ для поддержания в рабочем состоянии оборудования и производственных мощностей в модуле Управление ремонтами.

Рис. 26. Схема системы ППР
Модуль Управление ремонтами выполняет следующие функции:
· Ведение нормативно-справочной базы данных;
· Настройка модуля на особенности конкретного предприятия;
· Планирование ремонтов;
· Мониторинг состояния объектов ремонта;
· Учет результатов выполнения ремонтов;
· Учет затрат на выполнение ремонтов;
· Анализ обеспеченности ремонтов;
· Анализ выполнения ремонтов;
· Управление ресурсами ремонтов;
· Ведение журналов регистрации простоев оборудования и выявления дефектов.
Система планирования ремонтов основывается на расчете графика по установленным нормам периодичности и продолжительности межремонтного периода, с возможностью автоматического формирования заявок на ремонт по типовым ремонтам. Этот график позволяет составлять как долгосрочные (годовые), так и ближайшие (месячные) планы работ.
Для списания материалов и запчастей со склада, а также для возврата на склад неиспользованных МЦ, предназначены накладные на отпуск и возврат МЦ. После завершения ремонта составляются акты выполненных работ, отражающие фактическое использование материальных и трудовых ресурсов.
Особенностью модуля является использование различных методов расчета даты очередного ремонта, в зависимости либо от даты предыдущего ремонта, либо от даты другого ремонта (ремонтный цикл), либо от даты ремонта другого объекта (для одновременного ремонта оборудования, входящего в состав узлов или блоков).
В модуле учитываются не только плановые ремонты, но и те ремонты, которые носят внеплановый характер в случаях аварийной остановки или отказов в работе объекта ремонта. Они дополняют график плановых ремонтов и используются во всех отчетах и выходных формах. Предусмотрена возможность формирования записей в Журнале регистрации простоев оборудования с указанием даты и времени остановки и запуска, причинах и виновниках простоя, а также мероприятиях и исполнителях ликвидации аварии.
Для систематического накопления данных о техническом состоянии и работоспособности объектов ремонта предусмотрен Журнал регистрации выявленных дефектов. Он является основным документом для установления характера и объема планового ремонта объекта, а также сроков службы узлов и деталей.
В процессе планирования ремонтов модуль обеспечивает расчет потребностей в трудовых ресурсах, материальных ценностях, ремонтной технике и инструменте. Модуль обеспечивает выполнение функции анализа обеспеченности ремонтов материальными ценностями и трудовыми ресурсами.
Модуль Управление ремонтами позволяет получать множество отчетов:
· По планированию и учету выполнения ремонтов (годовой и месячный графики ремонтов);
· По планированию ремонтных работ (заявки на ремонт, потребности в материальных, трудовых ресурсах и ремонтной техники);
· По подготовке производственных программ (для служб снабжения, изготовления и исполнителей ремонтов);
· По анализу обеспеченности ремонтов необходимыми ресурсами;
· По учету выполнения ремонтных работ (акты выполненных работ, фактические затраты на проведение ремонтов);
· По учету затрат (сводные и аналитические ведомости);
· По анализу проведения ремонтов (отклонение планового и фактического объемов и сроков проведения ремонтов).
ХозОперации.
Модуль ХозОперации является главным исполнительным инструментом Контура бухгалтерского учета. Он обеспечивает автоматизированное отражение проведенных хозяйственных операций в бухгалтерском и управленческом учете. Эта задача решается с помощью механизмов типовых хозяйственных и финансовых операций (ТХО и ТФО). Результатом отражения хозяйственных операций с помощью этих механизмов являются:
· для бухгалтерского учета - бухгалтерские проводки;
· для управленческого учета - финансовые операции.
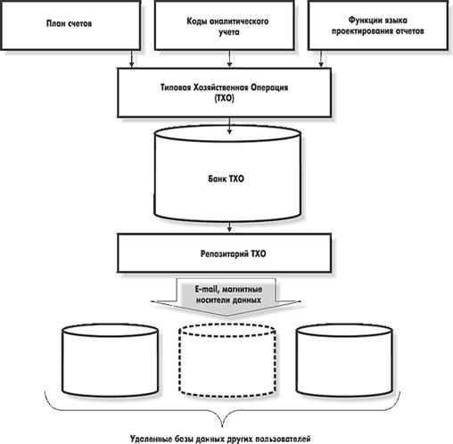
По своей сути типовая хозяйственная операция (ТХО или ТФО) - настраиваемая пользователем процедура разноски суммы хозяйственного документа по регистрам учета с учетом заданной аналитики (см. рис. 27.).
Суммы проводок рассчитываются посредством настраиваемых пользователем алгоритмов, использующих так называемые системные идентификаторы, а также функции встроенного языка проектирования расчетных форм. Реализована функциональность ТХО API (application programming interface), которая дает возможность сторонним разработчикам расширять вычислительные возможности идентификаторов ТХО.
Одна ТХО позволяет сформировать сразу несколько проводок по данному документу. При изменении настройки ТХО возможен групповой пересчет сумм проводок, сформированных с ее помощью.
В программе установлено однозначное соответствие между типами хозяйственных документов (финансово-расчетные, сбыт, снабжение, производство и т.п.) и наборами типовых операций, к которым они могут применяться. Для каждого типа документов формируется отдельный каталог типовых операций в соответствии с порядком учета, принятым на предприятии пользователя.

Рис. 27. Схема настройки ТХО
Для проведения обмена операциями между базами данных различных пользователей предназначен Репозитарий ТХО.
Функции модуля обеспечивают привязку (разноску) документов к типовым хозяйственным операциям. При установлении привязки для выбранного документа осуществляется автоматическая разноска суммы хозяйственного документа по регистрам учета (см. рис. 28.).
При этом возможности модуля позволяют:
· вести параллельный учет соответствующих сумм в валюте;
· формировать групповые проводки и операции;
· с помощью одной ТХО создавать записи в нескольких регистрах учета, одновременно или по отдельности;
· отменять ранее сделанные проводки и операции по документам.
Предусмотрена возможность получения реестров проведенных хозопераций по отдельно выбранному типу или всем документам.

Рис. 28. Схема формирования проводок с помощью ТХО
Финансово-расчетные операции.
В Контуре бухгалтерского учета предусмотрено формирование всего спектра финансовых документов, сопровождающих движение денежных средств (платежные поручения, платежные требования и т.п.). Эти документы могут быть связаны с документами-основаниями, созданными в других контурах Галактики.
Система обеспечивает контроль соответствия платежей, оформленных финансовыми документами, и сумм, указанных в документах-основаниях, а также получение баланса взаиморасчетов с контрагентами по каждому ДО в динамическом режиме (см. рис. 29.).
С помощью специальной функции можно осуществить импорт каталога банков из базы данных внешних информационных систем. Модуль обеспечивает формирование разнообразных отчетов:
· аналитические ведомости по бухгалтерским счетам;
· группировочные ведомости;
· оборотно-сальдовые ведомости;
· журналы-ордера;
· реестры обработанных платежных документов;
· ведомости по неоплаченным или просроченным документам;
· «шахматки».
Гибкая система настроек позволяет:
· производить отбор данных, требуемых для формирования отчетов;
· осуществлять необходимую в отчетах группировку и сортировку записей;
· сворачивать или расшифровывать сальдо по различным уровням аналитики;
· настраивать внешний вид отчетных форм.

Рис. 29. Схема учета финансовых операций
Касса.
Модуль «Касса» позволяет осуществлять учет:
· расчетов наличными средствами с поставщиками и покупателями;
· командировочных расходов;
· всех видов расчетов с подотчетными лицами;
· зарплаты и выплат, выданных через кассу; депонированной зарплаты;
· кассовых операций как с НДЕ, так и с иностранной наличной валютой.
Функции модуля позволяют вести учет по таким документам как приходные и расходные кассовые ордера (в т.ч. и валютные), платежные ведомости и ведомости на депонирование, авансовые отчеты, приказы на командирование сотрудников и др.
Возможность ограничения доступа к документам касс позволяет установить режим доступа к кассам и типам кассовых документов для конкретных сотрудников предприятия. Идентификация сотрудников производится по сетевому имени, для каждого из них можно установить доступ к определенным видам кассовых документов с помощью специальной настройки.
Функция создания и ведения справочника норм расходов различного назначения позволяет производить контроль расходования денежных сумм, например, при расчете авансов и отчетов по командировкам. Для каждой нормы расхода можно указать страну и город, сумму нормы и валюту, в которой выражена данная норма.
Модуль тесно интегрирован с модулем Заработная плата: платежные ведомости в Кассе формируются согласно произведенным в Заработной плате начислениям, данные о превышении нормы расхода передаются в Заработную плату для удержания подоходного налога и т.д.
Результаты расчетов по кассовым операциям используются для получения отчетов как в самом модуле, так и в модулях ФРО, Бухгалтерская отчетность, Поставщики, получатели, Платежный календарь.
Ведение налоговых расчетов.
Модуль Ведение налоговых расчетов предназначен для автоматизированного формирования документов регистрации и оплаты налогов в организациях с большим количеством обособленных структурных подразделений. Документы формируются в разрезе филиалов, бюджетов и налогов (рис. 30).
При заполнении налоговых платежных документов филиалов необходимы функции, не присущие иным платежным документам. Например, в реквизитах плательщика требуется отображать наименование и ИНН головной организации и т.д.
Модуль Ведение налоговых расчетов обеспечивает корректное формирование всех реквизитов платежных документов, а также позволяет:
· формировать акты регистрации начисленных налогов, рассчитанных вне системы Галактика;
· формировать акты сверки расчетов с ГНИ в разрезе филиалов, налогов, бюджетов с группировкой по типам начислений и оплат;
· полностью блокировать документы, подтверждаемые актом сверки;
· по результатам акта сверки формировать сальдо, учитываемое при последующих расчетах.
Такие возможности достигнуты благодаря использованию специального классификатора «Структура налоговых расчетов предприятия». Он является аккумулирующей таблицей начислений и платежей в соответствующем разрезе (бюджет, налоги, органы ГНИ, типы платежей и начислений). Структура взаимодействий формируется один раз - в начале эксплуатации модуля, а затем корректируется или дополняется при изменении схем расчетов.
Важной особенностью модуля является взаимосвязь между структурными подразделениями и налоговыми платежами. Такой подход упрощает заполнение платежных документов в случае большого количества подразделений (например, 300 и более).
Разграничение прав доступа к документам используется для разделения налогов на начисленные и уплаченные, а также блокировки оплаченных документов (платежных поручений, авизо, актов регистрации). Метод, простой в использовании и достаточно элегантный в своем решении, оказывается очень эффективным в работе.
Векселя и кредиты.
Модуль позволяет вести оперативный учет векселей и других ценных бумаг, учитывать полученные и выданные кредиты, формировать графики получения/погашения кредитов и контролировать их исполнение.
Основным назначением модуля является упрощение процедуры расчетов за товары и услуги посредством векселей. При этом договоры на закупку/продажу, ДО и сопроводительные документы формируются обычным образом в различных модулях системы Галактика, а расчеты оформляются актом приема-передачи, в котором с одной стороны фигурирует документ-основание, а с другой - один или несколько векселей. Документы, которые подтверждают денежные расчеты по ценным бумагам и кредитам, как в части основной суммы, так и по погасительным процентам, формируются в модулях ФРО и Касса.
В модуле производится:
· ведение картотек векселей, ценных бумаг, кредитов;
· формирование актов на получение/передачу векселей и ценных бумаг;
· формирование актов на гашение собственных/сторонних векселей и ценных бумаг;
· ведение архива векселей, вексельных соглашений и ценных бумаг;
· формирование реестров и отчетов по учету движения векселей, вексельных соглашений и ценных бумаг;
· получение отчетов о фактической оплате векселей и ценных бумаг.
Операция с ценными бумагами в модуле Векселя и кредиты оформляются в виде акта приема-передачи. Данный документ связывается с документом-основанием на закупку или продажу, по которому производится взаиморасчет с контрагентом. В акте производится перечисление ценных бумаг, передаваемых в счет погашения дебиторской или кредиторской задолженности. С помощью выбора ТХО осуществляется формирование бухгалтерских проводок, обеспечивающих учет совершенной хозяйственной операции.
Учет полученных и выданных кредитов осуществляется путем ведения кредитных договоров. Если кредитным договором предусмотрено возвращение кредита по частям, в модуле существует возможность определения сумм и дат для каждой из указанных частей.

Рис. 30. Схема учета кассовых операций с наличными денежными средствами
Формирование графиков погашения платежей можно осуществлять отдельно от графиков погашения процентных денег (процентов). При расчете суммы процентных денег учитывается величина и срок ссуды, уровень процентной ставки.
Если кредитование предприятий осуществляется под обеспечение реальными ТМЦ, то можно указать объекты залога, их стоимость и дату формирования.
Основные средства и Нематериальные активы.
В системе Галактика создано два отдельных модуля, которые позволяют вести учет основных средств и нематериальных активов. Большинство функций в модулях однотипны (рис. 32), но в силу специфики учета объектов НМА в модуле Нематериальные активы отсутствует классификация по группам и видам, не производится переоценка, не формируются ведомости движения, существуют также некоторые отличия в способе начисления износа.
Модуль Основные средства позволяет:
· создавать и вести картотеку (рис. 31);
· вести учет нескольких однотипных объектов ОС с помощью одной инвентарной карточки;
· вести учет сложных иерархических объектов;
· вести параллельный учет основных фондов на основе различных методов, характеризующихся различной валютой учета, используемым планом счетов бухгалтерского учета, алгоритмами начисления износа, ТХО для формирования проводок;
· осуществлять все операции по учету основных фондов (поступление, начисление амортизации, изменение стоимости, переоценка, выбытие, перемещение);
· производить расчет амортизации как по всей картотеке, так и по группе выбранных объектов учета;
· производить расчет амортизации ОС как в зависимости от срока их использования, так и в зависимости от их выработки, пробега и т.п.;
· вести учет содержания драгоценных металлов в ОС;
· учитывать размещение ОС по территории страны с целью расчета налога на имущество территориально распределенных предприятий;
· получать различные настраиваемые статистические (в частности, по форме 11) и бухгалтерские отчеты с учетом требуемой группировки данных и накладываемых ограничений;
· сохранять историю начисления износа ОС и на ее основе возвращаться к предыдущим отчетным периодам для проведения корректировок и исправления ошибок;
· прогнозировать суммы амортизационных отчислений за любой будущий период времени с разбивкой по месяцам и кварталам на основе данных предыдущих периодов. Прогноз строится как с учетом ускоренной амортизации, так и без нее.

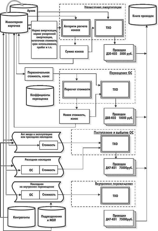
Рис. 31. Информационное окружение картотеки ОС
Настройка модуля Основные средства позволяет переходить на новый отчетный период и возвращаться к предыдущему только в рамках данного модуля, отдельно от других бухгалтерских модулей.
Одна из важнейших задач модулей Основные средства и Нематериальные активы заключается в удовлетворении многочисленных требований, предъявляемых к составлению отчетов. В связи с этим в системе дается возможность построения всех отчетов в интерактивном режиме, с индивидуально настраиваемой технологией выполнения. Это позволяет задать необходимую группировку и сортировку данных, а также ограничить объем отображаемой в отчете информации с помощью всевозможных фильтров.
В зависимости от потребности в информации стандартные отчеты могут формироваться с различной степенью детализации и сортироваться по различным критериям. Предусмотрено получение настраиваемых статистических (в частности, по форме 11) и бухгалтерских отчетов, которые пользователь может сформировать согласно заданным условиям фильтрации и группировки данных.

Рис. 32. Схема учета операций с основными средствами
Бухгалтерская отчетность.
Модуль позволяет проанализировать все счета бухгалтерского учета, произвести процедуру автоматического закрытия временных счетов (рис. 33), сформировать типовые формы для отчетности и расчета налогов (модуль поставляется с комплектом готовых отчетных форм по сводному балансу и налогам, соответствующих законодательству и требованиям, предъявляемым налоговыми органами). Помимо типовых форм пользователю предоставляется возможность создавать собственные отчеты произвольной формы и включать в них расчетные алгоритмы. Отчеты можно получать как в текстовом формате, так и в формате MS Excel.
В процессе функционирования модулей системы Галактика в базе данных накапливается вся информация, необходимая для составления бухгалтерских и экономических отчетов.
Состав исходящей бухгалтерской отчетности, форма представления данных в них и методики расчета периодически требуют корректировки в связи с изменением действующего законодательства, специфики деятельности и структуры предприятия, требований статистических и налоговых органов. Воздействие перечисленных факторов приводит к необходимости доработки отчетов. Эта проблема решается путем использования встроенного «Языка проектирования отчетных форм», который позволяет скорректировать любую существующую или создать новую форму требуемого отчета. На данном языке выполнены все поставляемые в составе системы Галактика исходящие формы бухгалтерской отчетности и документы, отражающие экономические показатели.
Язык проектирования расчетных форм достаточно прост в освоении, приближен к бухгалтерской терминологии и позволяет пользователям оперативно адаптировать свои отчеты к изменившимся внешним требованиям.
С помощью таких понятий как «Период расчета», «Вид оборота», «Счет», «Субсчет», «Аналитика», «Проводка», «Обороты», «Сальдо» и стандартных математических операций можно создать алгоритм расчета бухгалтерского документа любой сложности.
Поставка новых и модификация существующих форм отчетов при изменениях действующего законодательства входит в обязательства разработчика перед зарегистрированными пользователями.
Налоговые регистры.
В системе Галактика реализованы гибкие и универсальные механизмы для автоматизированного ведения налогового учета, позволяющие оперативно «подстраиваться» под изменяющееся законодательство. Система дает возможность раздельного ведения бухгалтерского и налогового учета, формирования налоговых регистров и налоговой отчетности в соответствии с требованиями действующего Налогового Кодекса РФ.
Принцип построения налогового учета в системе базируется на однократной регистрации первичных документов, формировании учетных записей от первичного документа с использованием настроенных ТХО, использовании набора готовых отчетов и механизма настройки, а также создании пользовательских отчетных форм для расширения состава отчетов в соответствии с требованиями предприятия. Налоговая отчетность строится на данных первичных документов и сформированных по ним проводок. Для налогового учета можно использовать как параллельный план счетов, так и бухгалтерский план счетов, расширенный специально введенными для налогового учета синтетическими и аналитическими разрезами учета.

Рис. 33. Схема закрытия временных счетов
Средства системы по ведению налогового учета сосредоточены не только в модуле Налоговые регистры, но и в других модулях Галактики (рис. 34).
В модуле Налоговые регистры скомпонованы основные функциональные средства по документированию налогооблагаемой базы по налогу на прибыль. Он содержит специально разработанную систему интерактивных настраиваемых отчетов для формирования налоговых регистров. Функции для формирования регистров сгруппированы по типам операций. Каждый полученный в результате регистр отражает перечень показателей, на основе которых можно осуществить исчисление налоговой базы в соответствии с правилами, предусмотренными 25 главой НК.

Рис. 34. Схема взаимосвязи с функциональными компонентами системы «Галактика»
Одновременно здесь предоставляется возможность формировать аналитические ведомости, Налоговую декларацию на основе данных по «налоговым» проводкам.
На приведенной ниже схеме (рис. 35) показан принцип, на котором базируется формирование Декларации по налогу на прибыль в системе - от первичного документа через настройку ТХО (с использованием «Налогового плана счетов»), с дополнительным формированием налоговых регистров. Настройка и задание формул в форме Декларации (осуществляется с использованием «Языка проектирования расчетных форм») строится на «налоговых» проводках/счетах, суммы по которым выбираются из «Книги проводок»/таблицы «Сальдо». Подтверждением значений строк и показателей листов и приложений Декларации являются полученные и сформированные формы регистров налогового учета.
Инсталляция варианта «налогового» плана счетов выполняется из поставляемого в составе дистрибутива системы файла с помощью специальной функции. Налоговая декларация поставляется в виде шаблона РАТ-формы.

Рис. 35. Схема формирования «налоговых» данных в системе
Фактические затраты.
При производстве любых видов продукции (выполнении работ, оказании услуг) предприятие стремится к тому, чтобы с минимальными затратами выполнить поставленную перед собой задачу и получить доходы, обеспечивающие его существование и дальнейшее развитие. Таким образом, расчет фактической себестоимости продукции (работ, услуг) является одной из основных задач предприятия. На основании расчетов фактической себестоимости формируются отпускные цены на продукцию (услуги, работы), т.к. полученная в результате расчета фактических затрат цена является базовой для расчета цены продажи и составляет большую ее часть.
В системе Галактика существует два модуля, в которых производятся расчеты, связанные с учетом затрат на производство продукции, выполнение работ, оказание услуг:
· Контроллинг - выполняет расчеты, связанные с планированием и учетом затрат на основании оперативных данных (управленческие фактические затраты);
· Фактические затраты - предназначен для автоматизации расчета фактических производственных затрат по итогам производственной деятельности предприятия за месяц.
С помощью средств модуля Фактические затраты, при ведении соответствующей аналитики по счетам бухгалтерского учета, можно производить расчет фактических затрат на производство изделий, составляющих производственную номенклатуру предприятия, группам изделий и производственным заказам, выполняемым работам, оказываемым услугам. Схема процесса расчета показана на рис. 36.
Модуль может эксплуатироваться на предприятиях, использующих как бесполуфабрикатный, так и полуфабрикатный метод учета затрат на производство.
Модуль решает следующие задачи:
· Учет фактических объемов выпуска - расчет по данным складских приходов фактического выпуска готовых изделий и полуфабрикатов по цехам за отчетный период;
· Расчет фактических смет расходов; закрытие производственных счетов; расчет сумм фактических прямых затрат по статьям калькуляции в разрезе подразделений и по предприятию; расчет сумм фактических затрат по экономическим элементам; расчет полных смет фактических затрат по подразделениям; расчет сметы и свода фактических затрат по предприятию; расчет калькуляций фактической себестоимости производственных заказов; расчет калькуляций фактической себестоимости изделий; контроль и анализ отклонений плановых и фактических затрат.
Модуль Фактические затраты обеспечивает возможность распределения косвенных затрат посредством процедуры закрытия счетов. Кроме того, с помощью процедуры закрытия счетов можно выполнить распределение затрат при оказании встречных услуг подразделениями друг другу.
Калькулирование себестоимости полуфабрикатов построено на количественном учете фактического выпуска и потребления полуфабрикатов с последующей процедурой закрытия счетов.
Результатом последовательного выполнения операций по закрытию счетов являются бухгалтерские проводки, содержащие суммы затрат по аналитическим разрезам. Данные суммы учитываются при расчетах смет расходов, свода затрат и калькуляций, на основании которых определяется фактическая производственная себестоимость. Результаты расчетов используются при формировании отчетов.
Расчет себестоимости продукции производится после закрытия счетов на основании имеющейся «Книги бухгалтерских проводок» с учетом настройки модуля.
Широкий спектр отчетов по своду затрат, сметам расходам, калькуляциям, фактическому выпуску позволяет получить полную картину калькулирования бухгалтерской фактической себестоимости.

Рис. 36. Схема расчета фактических затрат
Консолидация.
Модуль обеспечивает возможность ведения консолидированной (совместной) базы данных корпорации и получения консолидированной отчетности по любому виду хозяйственной деятельности предприятия.
Общая (консолидированная) база данных создается различными способами:
· при ведении учета по филиалам на одном компьютере или в единой вычислительной сети. Дополнительные программные средства не требуются;
· при передаче данных через электронную почту, модем или на дискетах. В этом случае требуется их объединение с помощью модуля Репликация данных.
В модуле Консолидация имеются возможности:
· устанавливать нужный план счетов и вид консолидированных отчетов; для каждого вида определяется набор включаемых филиалов;
· для выбранного вида отчета определять, какие операции филиалов отбирать для работы: только внешние, только внутренние, все (и внешние и внутренние).
· При работе с модулями системы пользователь получает доступ к данным и может получать отчеты по заданному филиалу корпорации и установленном плане счетов.
Получение общих балансов и других форм отчетности представлено на рис. 37.
Рис. 37. Схема получения отчетности
Модуль обеспечивает получение обобщенных отчетов по движению средств корпорации, отражаемому на счетах аналитического учета, и контроль сальдо на начало и конец отчетного месяца.
Язык проектирования отчетных форм обеспечивает создание форм общего баланса корпорации и других видов отчетов. Для доступа к данным различных филиалов в именах переменных предусмотрен специальный элемент, включающий код филиала.
Этот контур включает модули Клиент и Рекламные кампании. Основное назначение первого модуля - накопление всесторонней информации о потенциальных и реальных клиентах предприятия, дилерах, партнерах, рекламных фирмах, конкурентах, товарах и т.п., тогда как второй модуль ориентирован на проведение маркетингового анализа на основе сформированной базы данных.
Технология решения маркетинговых задач в системе Галактика представлена на рис. 38.

Рис. 38. Процесс решения маркетинговых задач
В процессе работы внутренних служб любого предприятия возникают взаимоотношения с клиентами, которые требуют своего отражения в базе данных. Регистрируя эти взаимоотношения, указанные службы накапливают информацию о клиентах, которая может использоваться при проведении маркетинговых исследований, формировании политики предприятия в области взаимоотношений с клиентами и т.п.
Модуль ориентирован на сотрудников отделов сбыта, технической поддержки, маркетинга. Формируемая модулем агрегированная отчетность предназначена для менеджеров предприятий, начальников отделов сбыта и маркетинга и, возможно, президента или исполнительного директора.
Модуль Клиент предоставляет следующие возможности:
· создание и ведение каталоги объектов базы данных - клиентов, дилеров, партнеров, рекламных фирм, конкурентов, контактных лиц клиентов, товаров, услуг, контактов с клиентами, сделок, договоров на гарантийное и абонентское обслуживание;
· формирование произвольного числа пользовательских классификаторов и атрибутов и присваивать значения этих классификаторов и атрибутов перечисленным выше объектам;
· отображение каталогов объектов базы данных, с группировкой их элементов по любому набору пользовательских и системных классификационных признаков;
· регистрация обыкновенных, групповых, предварительных и реализованных сделок по продажам товаров и услуг;
· формировать предполагаемые и совершенные продажи и сделки по товарам и услугам на основе договоров, документов-оснований, накладных и актов на услуги, созданных в других модулях системы;
· заключать договоры с клиентами на гарантийное и абонентское обслуживание приобретенных ими товаров;
· отображать текущие, отработанные и планируемые задания (контакты, продажи, сделки) для менеджеров своего предприятия;
· строить иерархию каналов сбыта, позволяющую наглядно представлять цепочки продвижения товаров от производителя к клиентам и быстро находить клиентов, которым осуществляется продажа данного товара через выбранного дилера.
На рис. 39. показано окно =Клиент=, отображающее одно из возможных, задаваемых пользователем и автоматически поддерживаемых системой иерархических представлений каталога клиентов. В данном случае, в качестве уровней группировки выбраны следующие классификационные признаки: отрасль деятельности клиента, его масштаб (крупный, средний, мелкий) и категория (стратегический, важный, клиент партнера, клиент). В поле Состояние показан еще один настраиваемый уровень классификации клиентов (образцовый, продуктивный, корпоративный).

Рис. 39. Иерархическое представление каталога клиентов
Можно создать и сохранить в базе данных произвольное число подобных иерархических представлений. Переключение между представлениями осуществляется всего несколькими нажатиями клавиш.
Для проведения маркетингового анализа можно создать группировку товаров по типу сбыта, жизненному циклу и ассортиментной группе, а затем модуль будет автоматически поддерживать эту группировку. Классификация по ассортиментной группе основывается на упрощенной «Бостонской» модели, которая учитывает только два фактора успеха товара: долю предприятия на рынке и темп роста продаж.
Модуль Управление рекламными кампаниями тесно связан с модулем Клиент и позволяет решать следующие задачи:
· регистрировать информацию о рынке типовых рекламных услуг;
· планировать рекламные компании;
· учитывать затраты на рекламу. При этом отдельные суммы затрат можно вносить вручную или из платежных документов, сформированных в других модулях Галактики;
· вести реестр независимых публикаций о предприятии, товарах и услугах;
· анализировать затраты на рекламу за период и по интервалам в различных разрезах с целью определения эффективности рекламы;
· контролировать «жизненный цикл» товаров и проводить анализ сегментов рынка.
Контур позволяет автоматизировать учет кадров на предприятии и выполнять расчеты по оплате труда персонала. Модуль Управление персоналом имеет тесную взаимосвязь с модулем Заработная плата. Учетные данные работников, введенные в одном из этих модулей, становятся доступными для другого. Таким образом, исключается необходимость повторного ввода идентичных данных о работниках предприятия.
Ввод необходимой справочной информации в картотеку сотрудников в модуле Управление персоналом существенно облегчает работу с лицевыми счетами в модуле Заработная плата. Вся необходимая для начисления информация передается в модуль Заработная плата автоматически.
Модули Управление персоналом и Заработная плата ориентированы на предприятия различных отраслей и форм собственности. Они могут использоваться как совместно с другими модулями системы Галактика с единой базой данных, так и самостоятельно.
Управление персоналом.
Модуль предназначен для кадровых служб предприятий любой организационной структуры (в том числе и с обособленными подразделениями или филиалами, а также с географически разветвленной сетью дилеров или агентов) независимо от форм собственности и количества сотрудников.
Модуль может быть адаптирован к самым различным требованиям:
· состав и структура каталогов полностью определяются потребностями предприятия, пользователь может создавать собственные каталоги для заполнения анкет и дополнительных характеристик рабочих мест;
· анкета позволяет вводить дополнительные, не предусмотренные программой, данные о сотруднике и использовать их при отборе и сортировке записей в отчетов;
· приложения к личному делу позволяют хранить произвольную дополнительную информацию о сотруднике - как текстовую, так и графическую;
· состав имеющихся отчетов легко расширяется заданием правил отбора данных о сотрудниках для отчета и порядка их сортировки.
Организация деятельности по управлению персоналом с помощью модуля включает в себя:
· учет размера зарплаты - составление штатных расписаний, утверждение и ввод их в действие приказом; формирование каталогов тарифных сеток и ставок; назначение/снятие доплат и надбавок (как для штатного расписания, так и персонально);
· трудоустройство (с оформлением приказа), перемещение по службе, увольнение;
· учет заполнения штата и перерасчет вакансий, табельный учет, планирование и предоставление любых типов отпусков (в т.ч. составление план-графика отпусков на календарный год), отзыв из отпуска, регистрацию больничных листов, контроль тарифов и временных назначений, присвоение званий, аттестация сотрудников, резерв на выдвижение, ведение картотеки кандидатов на прием на работу;
· ведение документации по кадровым вопросам - все виды приказов по любым распорядительным действиям, принимаемым в отношении личного состава, картотека сотрудников (личные дела), журналы регистрации по трудоустройству и отпускам, сведения о трудовой деятельности и продолжительности стажей (в том числе и для назначения пенсии), всевозможные анкеты, приложения и фотографические документы и проч.;
· присутствие персонала на работе - ведение планового и фактического табелей учета рабочего времени (автоматический учет записей по фактическим отпускам и больничным листам, а также назначениями и перемещениями, ввод неявок или отклонений от рабочего графика);
· формирование статистики, форм и разнообразных отчетов для внешних и внутренних нужд.
На рис. 40. представлена схема функционирования модуля, в которой показана взаимосвязь решаемых задач с хранящейся в базе данных информацией.
Функциональность модуля предусматривает получение большого числа иерархических, стандартных и пользовательских отчетов, а также вывод на печать утвержденных типовых унифицированных форм (предусмотрена возможность выгрузки отчетов в текстовый редактор Галактики, в MS Word или Excel). При формировании отчетов можно задать параметры настройки, определяющие объем и группировку данных. Также предоставлена возможность формирования документов по персонифицированному учету.
Заработная плата.
Модуль полностью автоматизирует работу бухгалтеров-расчетчиков (расчетной группы бухгалтерии), а также табельщиков, предназначен для автоматизации учетных и вычислительных процедур, связанных с оплатой труда персонала предприятий, при повременной и сдельной формах оплаты труда.
При разработке модуля реализованы два основных принципа:
· универсальность - возможность использования в любых организациях (независимо от форм собственности), начиная от крупных, со штатом в несколько тысяч человек, до предприятий малого бизнеса. Универсальность модуля позволяет реализовать любой подход к решению задач оплаты труда в таких странах как: Россия, Беларусь, Украина, Молдова, Казахстан, Узбекистан;
· адаптируемость - обеспечение возможности бухгалтеру самостоятельно проводить настройку с учетом специфики конкретного предприятия и изменений законодательства.
Модуль обеспечивает:
· разработку графиков работы персонала предприятия (по любому режиму работы);
· ведение лицевых счетов работников, накопление данных о начислениях, удержаниях и вычетах;
· формирование табеля учета рабочего времени;
· начисление заработка с использованием различных видов оплат;
· расчет различных видов удержаний;
· расчет и оформление ежемесячных и разовых выплат в межрасчетный период (авансы, пособия, отпускные и т.д.);
· сторнирование ранее начисленных или удержанных сумм;
· формирование и печать выходных документов: платежных ведомостей, сводов, реестров и т.д.;
· формирование и печать различных справок и отчетов о заработной плате и налогах.
Функциональная схема модуля Заработная плата приведена на рис. 41.
Учтены особенности расчетов по оплате труда в современных условиях, включая изменение минимальной заработной платы, тарифной ставки первого разряда, видов и ставок налогов, льготируемых сумм, индексации. Предусмотрена возможность использования районных коэффициентов, северных надбавок, доплат за выслугу лет, выплат материальной помощи, учета доходов совместителей, учета подотчетных и депонированных сумм, расчета заработной платы от обратного (расчет начисленной суммы на основании суммы, выданной на руки), ввод сторнирующих записей для снятия неправильно начисленных денежных средств, с помощью специальной функции можно выполнить отмену расчета заработной платы.

Рис. 40. Схема функционирования модуля Управление персоналом
Реализовано три алгоритма расчета налога на доходы: по месячному доходу; по совокупному годовому доходу; по совокупному доходу с учетом коэффициентов пересчета, используемых для равномерного удержания налога.
Специальные классификаторы хранят информацию по отчислениям и налогам на фонд оплаты труда, которые уплачивает предприятие. Можно ввести до 50 различных налогов, указав их наименования и проценты отчислений.
В базовом варианте поставки системы настроено порядка 50-ти стандартных видов оплат. При необходимости, помимо стандартного набора алгоритмов расчета можно использовать собственные алгоритмы. Их формирование обеспечивается набором функций, осуществляющих доступ к базе данных, и не требует специальной подготовки пользователя. Все виды оплат могут быть отнесены к основному или дополнительному заработку и облагаться налогом на доходы отдельно, по одному из упомянутых алгоритмов и отдельным таблицам ставок налога. Для каждого вида оплаты можно определить алгоритм расчета, входимость в расчет различных видов удержаний, средних заработков и налогов на ФОТ.
Предусмотрено использование до 230 видов удержаний, которые также допускают самостоятельную настройку. Расчет подоходного налога, а также отчислений в Пенсионный фонд и профсоюзных взносов полностью автоматизирован, включая перерасчет при доначислении или сторнировании зарплаты за предыдущие месяцы.
Обеспечивается ведение лицевых счетов работников (по основному месту работы, совмещению, совместительству), хранение данных обо всех начислениях и удержаниях за прошлый и текущий годы, а также возможность просмотра табелей и отпусков сотрудников за любой месяц текущего/прошлого года. Эти данные могут использоваться для получения разнообразных отчетов и справок. Автоматизирован расчет аванса, больничных, отпускных, пособий на детей и матерям, разовых выплат и удержаний. В модуле можно выполнить перевод работника в другое подразделение или на новый оклад (систему оплаты). В модуле предусмотрено формирование договоров подряда и первичных документов, фиксирующих выработку рабочих-сдельщиков - индивидуальных (с учетом/без учета КТУ) и бригадных нарядов, маршрутных листов:
· формирование норм и расценок по операциям и по работам в целом (количество выпускаемой продукции, расценка за единицу, время по норме, положение о премировании, а также отнесение затрат);
· создание бригад (КТУ для работников; режим распределения суммы наряда, сдельного приработка и премии);
· расчет дневной (среднедневной) зарплаты и премий с учетом КТУ.
В модуле реализовано два метода формирования проводок - по явно указанной корреспонденции счетов и по ссылкам на типовые хозяйственные операции. Ссылка на ТХО предусмотрена для:
· видов оплат и удержаний;
· налогов на ФОТ;
· лицевых счетов;
· накоплений по видам оплат/удержаний;
· неначисляемых доходов;
· постоянных доплат и удержаний;
· отпусков;
· листов нетрудоспособности;
· межрасчетных выплат;
· нарядов, маршрутных листов и договоров подряда.

Рис. 41. Функциональная схема модуля Заработная плата
В модуле реализовано два метода формирования проводок - по явно указанной корреспонденции счетов и по ссылкам на типовые хозяйственные операции. Ссылка на ТХО предусмотрена для:
· видов оплат и удержаний;
· налогов на ФОТ;
· лицевых счетов;
· накоплений по видам оплат/удержаний;
· неначисляемых доходов;
· постоянных доплат и удержаний;
· отпусков;
· листов нетрудоспособности;
· межрасчетных выплат;
· нарядов, маршрутных листов и договоров подряда.
Следует отметить, что настраивать ТХО по заработной плате и выполнять хозяйственные операции можно только над «Бухгалтерскими справками», формирование платежных поручений происходит по явной корреспонденции счетов. Привязка ТХО к платежным поручениям выполняется в модуле ХозОперации.
Модуль Заработная плата позволяет получать разнообразную выходную документацию, начиная от расчетных листков, платежных ведомостей, расходных кассовых ордеров (с возможностью передачи их в модуль Касса) и кончая различными сводами и контрольным журналом по оплате труда. Основной документ по оплате труда - расчетно-платежная ведомость - допускает настройку формы в зависимости от специфики конкретного предприятия.
Получение ведомостей распределения, сводов по начислениям и удержаниям, аналитических отчетов, контрольных журналов и расчетов по оплате труда, отчетов по налогам на ФОТ, справок о доходах, а также формирование карточек и деклараций для представления в Государственные налоговые инспекции, сведений и документов, подаваемых в Пенсионный фонд и статистических отчетов в Заработной плате осуществляется на любой заданный период.
При переходе к новому расчетному периоду автоматически формируются бухгалтерские справки о начислениях, удержаниях и налогах на ФОТ. Одновременно формируются платежные поручения на перечисление налогов, а также удержаний в пользу других юридических и физических лиц.
Управление операциями с консигнационным товаром имеет свои особенности, поэтому функции учета приема и передачи товара на реализацию с регламентной отсрочкой платежа вынесены в системе Галактика в отдельный модуль Консигнация.
Этот модуль позволяет выполнять следующие операции:
· оформлять документы-основания на прием или отпуск товара на консигнацию;
· включать в спецификацию формируемых документов наборы товаров;
· формировать накладные на прием и возврат консигнационного товара;
· формировать акты реализации товара, отпущенного на консигнацию;
· формировать доверенности для получения консигнационного товара;
· получать ведомости приема/отпуска консигнационного товара в разрезе контрагентов и товаров;
· получать отчеты по реализации и остаткам консигнационного товара (в рублях и в валюте);
· получать отчеты по исполняемым документам-основаниям на прием или отпуск консигнационного товара;
· контролировать соответствие накладных и складских ордеров.
Модуль Консигнация эксплуатируется совместно с базовыми модулями Контура логистики.
Модуль Розничная торговля ориентирован на широкий круг предприятий оптово-розничной торговли и обеспечивает учет товаров при их реализации через розничную торговую сеть. При помощи этого модуля вы сможете создать на своем предприятии функциональную и эффективно работающую автоматизированную систему учета торговых операций.
Учет торговых операций в розничной торговле имеет ряд особенностей, связанных с формированием различных составляющих отпускной цены и отражением их на соответствующих счетах бухгалтерского учета. В модуле Розничная торговля реализована возможность ведения как количественного, так и стоимостного учета в подразделениях розничной торговли. Все сведения о материальных ценностях хранятся в карточках учета товара. Учет ведется в отпускных ценах. При формировании цен выполняется контроль регламентированных законодательством предельных процентов надбавки для всех звеньев обращения. В зависимости от настроек, отпускные цены формируются на основании указанных процентов оптовой и розничной надбавок или берутся из прайс-листа.
Модуль Розничная торговля позволяет учитывать операции возврата товара от покупателя и возврата товара поставщику. Полнота учета обеспечивается возможностью формирования документов на внутреннее перемещение и списание товаров, а также проведения операций инвентаризации и переоценки. Реализован учет товарных потерь.
Предусмотрен учет оплаты наличными, по безналичному расчету, а также по кредитным картам. Модуль предоставляет средства для обмена данными с системами учета реализации товаров через кассовые аппараты (IPC POS, XCel-LX, PWP-S 100RF, OMRON RS 2810). В конце смены данные о полученной выручке передаются в модуль Касса и формируются приходные кассовые ордера. По результатам работы за смену на основании данных о приходных и расходных операциях формируется «Товарный отчет» - суммовой отчет по товарам в разрезе материально-ответственных лиц.
Предусмотрена возможность получения отчетов по закупкам и продажам товаров, наличию и движению товаров за указанный период и в различных разрезах. Кроме того, возможно формирование оборотной ведомости и реестров розничных цен.

Рис. 42. Взаимосвязи модуля Розничная торговля
Модуль Розничная торговля взаимосвязан с модулями Складской учет и Управление снабжением, поэтому при его покупке в комплект обязательно должен входить Контур логистики. Место модуля в системе Галактика отражено на схеме (рис. 42).
Этот модуль предназначен для решения задач учета, планирования и оценки состояния различных видов транспорта: автомобильного, железнодорожного и других. Наиболее подробно разработана реализация бизнес-процессов для автомобильного транспорта.
Модуль ориентирован на сотрудников диспетчерской службы, непосредственно занимающихся выпиской и обработкой путевых, регистрационных и маршрутных листов; работников ремонтных и эксплуатационных служб, оценивающих состояние транспортных средств и необходимость проведения операций планового технического обслуживания и ремонтов, а также регистрирующих указанные операции; управленческого персонала среднего звена, для которого формируются многочисленные отчеты, позволяющие проанализировать эффективность использования транспортных средств.
Модуль позволяет решать перечисленные ниже задачи:
· формировать картотеки подвижного состава и водителей вручную и на основе картотек модулей Основные средства и Управление персоналом. Составлять и использовать табели транспортных средств и водителей;
· создавать картотеки комплектующих и шин как на основе картотеки модуля Основные средства, так и с помощью прямого ввода данных;
· формировать картотеки заказов на внешние и внутрихозяйственные работы как на основании первичных документов: накладных, актов, так и независимо от них;
· выписывать и обрабатывать путевые и регистрационные листы;
· программировать формулы для расчета нормативного расхода топлива из баков ТС. А также на работу специального оборудования, которые могут включать большое количество параметров и поправочных коэффициентов;
· создавать и использовать алгоритмы для автоматического расчета оплат водителей и стоимости услуг с помощью переменных из путевых и регистрационных листов, картотеки заказов и других справочников модуля;
· рассчитывать нормативный и фактический расход ГСМ, выручку и стоимость услуг;
· создавать счета на продажу, счета-фактуры и акты на оказание услуг в других модулях системы на основании заказов на внешние транспортные работы;
· учитывать документы, относящиеся к водителю, транспортному средству и грузу, например, водительское удостоверение международного образца, свидетельство о регистрации транспортного средства, грузовую таможенную декларацию и многие другие. Типы и состав документов определяется пользователем;
· получать оперативную информацию о состоянии транспортных средств и данных о водителях и на основании этой информации направлять транспортные средства на ТО и капитальный ремонт;
· просматривать текущие данные о распределении работ среди водителей;
· учитывать показатели работы комплектующих шин на основе данных из путевых листов;
· выдавать отчеты по технико-эксплуатационным показателям работы транспорта, техническому обслуживанию, расходу ГСМ, оплате водителей, расходам водителей в пути, сведениям о заказчиках, пробегах шин и работе комплектующих;
· рассчитывать данные об оплате водителям и передавать их в модуль Заработная плата;
· передавать данные о пробеге транспорта в модуль Основные средства для корректного расчета износа основных транспортных средств.
На рис. 43 показаны информационные потоки, связывающие модуль Управление транспортом с другими модулями системы.

Рис. 43. Информационное окружение модуля Управление транспортом
При эксплуатации модуля Управление транспортом естественно выделяются два режима работы: настройка и эксплуатация.
Настройка - это заполнение и корректировка справочников модуля, формирование картотек водителей, транспортных средств, прицепов, комплектующих, а также задание общих параметров транспортного предприятия. Широкие возможности настройки обеспечивают гибкость функционирования программы и позволяют учесть специфику конкретного транспортного предприятия.
Эксплуатация модуля Управление транспортом включает следующие основные работы:
· формирование картотеки внешних и внутрихозяйственных заказов предприятия как вручную, так и на основании накладных на отпуск МЦ и актов на оказание услуг, созданных в других модулях системы - выполняется сотрудниками диспетчерской службы;
· выписка регистрационных и путевых листов - на этой стадии лист имеет статус выписан. Ввод и корректировка данных листов выполняется сотрудниками диспетчерской службы предприятия;
· обработка регистрационных и путевых листов - выполняется после сдачи листа, который получает статус обработан;
· корректировка нормативных данных в картотеках и справочниках базы данных - осуществляется сотрудниками диспетчерской, ремонтной и эксплуатационной служб;
· просмотр и ввод данных о состоянии транспортных средств, планируемых и проведенных работах по техническому обслуживанию и ремонту с целью своевременного проведения указанных работ - эти операции выполняются сотрудниками ремонтных и эксплуатационных служб предприятия;
· получение ведомостей по технико-эксплуатационным показателям работы транспорта, техническому обслуживанию, расходу ГСМ, оплате водителям, сведениям о заказчиках, пробегам шин и работе комплектующих. Отчеты используются управленческим персоналом среднего звена и сотрудниками других служб;
· закрытие регистрационных и путевых листов - производится с определенной периодичностью и переводит группы листов за указанный период в статус архив;
· перенос данных по пробегам в модуль Основные средства, выполняемый с заданной периодичностью. Передача данных в другие модули производится специально выделенными сотрудниками диспетчерской службы;
· передача информации об оплате водителям в модуль Заработная плата.
Модуль Управление капитальным строительством (УКС) позволяет автоматизировать бизнес-процессы планирования и учета при выполнении капитального строительства. Данное решение предназначено для «верхнего», управленческого слоя строительных организаций и не содержит сметных или архитектурных расчетов по отдельным объектам. Модуль рассчитан на сотрудников и руководителей отделов планирования и финансирования капитального строительства и капитального ремонта, отделов договоров и сметных расчетов, финансовых отделов, которые непосредственно ответственны за планирование и учет затрат на строительство объектов, и не имеют специальной подготовки в области программирования.
Модуль позволяет регистрировать объекты и заявки на строительство, формировать финансовые планы сооружения объектов, учитывать плановые и фактические расходы по строительству.
Объекты строительства и заявки на них хранятся в иерархических справочниках. Иерархия строится по разнообразным системным и пользовательским признакам объектов: вид, тип, отрасль, источник финансирования и т.д. Для каждого объекта отображается список документов, в которых регистрируются планируемые и фактические затраты. Привязка объектов строительства к документам осуществляется в специальном поле в договорах, ДО, накладных, актах, складских ордерах и счетах-фактурах.
При планировании строительства учитываются разнообразные показатели объекта: мощность, объем незавершенного строительства, капитальные вложения, основные фонды, строительно-монтажные работы, проектно-изыскательские работы, оборудование и т.д. Используется настраиваемая иерархическая структура планов для центров ответственности и периодов планирования.
Плановые и фактические затраты на строительство учитываются по договорам, накладным, актам и платежным документам для объектов строительства, возводимым данным центром ответственности в текущем периоде.
Предусмотрены функции ввода готовых объектов в эксплуатацию с формированием инвентарной карточки в модуле Основные средства или изменением стоимости ОС в результате строительства.
Модуль УКС реализует описываемые ниже бизнес-процессы:
· Строительство начинается с составления заявок на объекты строительства, которые содержат основные параметры объекта, ожидаемые сроки и предполагаемую стоимость. Новые объекты заносят в «Каталог объектов строительства».
· На основе заявок составляют план строительства. Объекты строительства объединяются в стройки. В плане строительства стройки и объекты разбиваются по периодам строительства. В плане могут быть определены сметные разделы.
· В план строительства также включаются объекты незавершенного строительства (НЗС), приобретенные на стороне и требующие проведения строительных работ.
· План строительства является частью финансового плана (бюджета) предприятия. В плане строительства ведется планирование и учет хозяйственной деятельности по строительству - заключение договоров и дополнительных соглашений, регистрация актов выполненных работ и поставок материальных ценностей (оборудования). Бюджет формируется на основе плана строительства путем разноски сумм затрат по объектам строительства на статьи финансового плана с помощью механизма типовых финансовых операций.
· С финансовым планом (бюджетом) связан платежный календарь, который предназначен для оперативного управления движением финансовых средств. В платежном календаре формируются заявки на оплату (финансовые обязательства) работ по договорам строительства, проверяется соответствие лимитов, установленных в финансовом плане, строится календарь оплат, формируются фактические показатели по бюджету.
· На основании плана строительства заключаются договоры с подрядчиками и поставщиками. Все договоры, относящиеся к строительству, связываются пунктами плана строительства через объекты строительства. Эта связь позволяет рассчитывать объемы освоения капитальных вложений и получать другую информацию по строительству.
· Оперативные документы (акты, накладные, счета-фактуры, платежные документы) связываются с договорами. Таким образом собираются фактические затраты по объектам плана строительства.
· Закупки материалов и оборудования (МЦ) для строительства регистрируются в модуле Управление снабжением, а купленные МЦ учитываются в модуле Складской учет. Документы по движению материалов и оборудования содержат информацию об объектах строительства, для которых они закуплены.
· После завершения строительства оформляется акт ввода в эксплуатацию и выполняется перевод в основные средства (ОС). С объектами незавершенного строительства могут быть выполнены различные операции: продажа, списание, переоценка, перевод в ОС, передача между подразделениями.
· После завершения очередного периода выполняется перепланирование строительства с учетом выполненных работ, новых лимитов финансирования и нового строительства.
· С помощью ТХО, использующих счета с аналитикой по объектам строительства в режиме автоматического формирования и циклической обработки, создаются нужные проводки, содержащие объекты строительства из спецификации обрабатываемых документов (накладных, актов, складских ордеров, ДО и договоров).
· На основе плана строительства и оперативных документов получаются различные сводные и аналитические отчеты по объектам строительства или по строительству в целом.
Модуль Сервисное обслуживание предназначен для учета услуг по ремонту либо усовершенствованию изделий заказчика, например, на станциях техобслуживания автомобилей, в мастерских по ремонту бытовой техники и т.д.
В этом модуле отрабатывается следующий цикл операций:
· ввод заявки на обслуживание;
· формирование по заявке накладной на отпуск МЦ в производство и расходного складского ордера;
· формирование по заявке накладной на возврат не использованных при ремонте МЦ на склад и их оприходование;
· формирование акта на выполненные работы;
· учет платежных документов на оплату выполненных работ и израсходованных материалов (модуль ФРО или Касса).
Расчет стоимости единицы работ и материалов, используемых при ремонте, выполняется при формировании прайс-листов в модуле Управление сбытом посредством включения всех необходимых наценок и налогов.
Данные об исполнителях выбираются из каталога сотрудников, ведение которого выполняется в модуле Управление персоналом или Заработная плата.
Основные отчеты:
· по отпуску МЦ для ремонта в разрезе подразделений;
· о движении отпущенных по заявкам на обслуживание запчастей в разрезе заявок, наименований запчастей, подразделений;
· о выполненных работах в разрезе подразделений и исполнителей;
· по реализации запчастей в разрезе заявок и матценностей;
· реестры заявок на обслуживание и сопроводительных документов.
Многие предприятия и организации по роду своей деятельности обязаны обеспечивать своих работников и сотрудников специальной и форменной одеждой. Особенностью учета спецодежды является ее широкая номенклатура, необходимость наличия на складах требуемого запаса, а также разветвленная система норм, устанавливающая перечень и периодичность выдачи вещевого довольствия работникам в зависимости от их категории. Еще одной отличительной чертой спецодежды является необходимость ее персонального учета по сотрудникам. Все это делает процесс учета подобных объектов трудоемким и требует наличия специального бухгалтерского персонала.
Учет спецодежды на складах ничем не отличается от складского учета других материальных ценностей. Особенности проявляются при выдаче одежды сотрудникам и в последующем процессе ее эксплуатации. Средства модуля Специальная и форменная одежда (СФО) призваны облегчить труд бухгалтерии и в этой сфере. Основными задачами, решаемыми модулем, являются:
· ведение норм вещевого довольствия;
· ведение номенклатурных и персональных (личных) карточек учета спецодежды;
· учет наличия спецодежды на складах;
· регистрация в персональных учетных карточках выдачи спецодежды сотрудникам предприятия в соответствии с нормами, установленными для их категорий;
· контроль сроков носки спецодежды, соответствующее изменение ее стоимости путем начисления износа и списание;
· предоставление необходимой информации при расчете с работниками как с подотчетными лицами;
· формирование требуемой отчетности.
Модуль СФО позволяет пользователям, ведущим упрощенный учет спецодежды в модуле МБП, перейти к нормальному процессу работы без потери ранее введенных данных и каких-либо серьезных перенастроек.
Модуль Давальческое сырье предназначен для учета сырья, переданного для переработки сторонней организации, а также полученной от этой организации готовой продукции.
Схема документооборота для учета переработки давальческого сырья представлена на рис. 44.
Модуль Давальческое сырье оперирует с договорами на переработку (ДО), накладными на отпуск сырья, прием готовой продукции и возврат неиспользованного сырья. По накладным на отпуск формируются расходные складские ордера, сырье закрепляется за обработчиком. По накладным на прием и возврат - приходные складские ордера, сырье списывается с обработчика. Услуги, оказанные контрагентами, в том числе обработчиком, могут вводиться во всех видах накладных.
При формировании документов автоматизирован расчет следующих количественных и стоимостных показателей:
· количество сырья в спецификации ДО по выбранным нормам выхода готовой продукции для заданного количества норм;
· количество получаемой готовой продукции и расход сырья по заданному количеству норм с учетом нормы потерь;
· количество возвращаемого сырья с учетом произведенной продукции;
· сумма по накладной на отпуск сырья;
· плановая себестоимость полученной готовой продукции по заданному количеству норм;
· фактическая себестоимость полученной готовой продукции с учетом израсходованного сырья и услуг по переработке.
Общая технология работы с документами ничем не отличается от используемой при работе с модулями Управление снабжением и Управление сбытом.
Основные отчеты:
· О плановой и фактической себестоимости полученной продукции.
· Баланс расчетов по видам оплаты (деньгами и встречными поставками).
· Ведомость движения переданного на обработку сырья.
· О полученной готовой продукции и затраченном на ее изготовление давальческом сырье с указанием реквизитов сопроводительных документов на отпуск.
· Реестры договоров на переработку и сопроводительных документов.

Рис. 44. Схема документооборота модуля Давальческое сырье
Этот модуль предназначен для автоматизации бизнес-процедур по сбору, контролю, накоплению отчетной информации юридической службы предприятий связи с разветвленной структурой.
Модуль позволяет вводить или импортировать отчеты подразделений и головной организации о задолженности за услуги связи, взыскании убытков и претензиях, а также формировать разнообразные отчеты на уровне головной организации в разрезе подразделений.
Контур системного администрирования является инструментом администратора (или группы администрирования) системы Галактика. Контур предоставляет администратору следующие возможности:
· Обеспечить режим оперативного совместного использования части информации базы данных несколькими предприятиями в рамках корпоративной структуры организации.
· Установить разграничение прав доступа к модулям системы, таблицам, записям и полям базы данных.
· Осуществлять оперативное наблюдение за действиями пользователей в системе Галактика и, при необходимости, вмешаться в действия пользователей.
· Вести автоматическую регистрацию действий пользователей по модификации базы данных.
· Восстановить базу данных, модифицированную в результате ошибочных действий некоторых пользователей.
· Проводить корпоративный межофисный обмен между базами данных, расположенными в территориально удаленных локальных вычислительных сетях.
· Осуществлять электронный обмен документами с организациями и банками.
· Обеспечить конвертацию словаря с целью получения доступа к базе данных системы Галактика из приложений, использующих ODBC-доступ к данным (для платформы Btrieve).
· Продиагностировать группу таблиц базы данных и исправить испорченные таблицы (для платформы Btrieve).
· Адаптировать систему Галактика к языковым и отраслевым особенностям организации, использующей систему.
Модуль Обмен бизнес-документами предназначен для обмена документами с внешними системами автоматизированного ведения учета. Гибкая система настроек позволяет экспортировать сформированные в системе документы в нескольких форматах и для разных целей. Реализован обмен документами, создаваемыми в Контуре логистики, Финансовом контуре, Контуре управления производством и т.д. Можно, например, передать клиенту накладную в электронном виде, извлечь из базы данные для обработки программой статистического анализа или внести в базу поступивший из банка документ.
При экспорте и импорте документов используются четыре формата файлов: текстовый, текстовый с разделителями, DBF и XML. При этом возможна запись каждого из документов в отдельный файл или составление реестра документов в одном файле. Файлы формируются системой с учетом заданной пользователем последовательности и форматов полей. Текстовые файлы формируются на основании составленного пользователем шаблона.
Благодаря функциям экспорта/импорта каталогов пользователи Галактики получили уникальную возможность оперативно обновлять данные таких каталогов системы как Контрагенты, Матценности, МБП, Основные средства, НМА.
Настройка структуры и форматов файлов производится в каждом конкретном случае по согласованию с организацией, для которой экспортируется документ, и в зависимости от программы, которой планируется их обрабатывать. Например, файлы с разделителями удобно обрабатывать в Microsoft Excel, а DBF-файлы при помощи FoxPro. При работе в сети Internet не обойтись без XML-файлов. Настройки сохраняются в базе данных системы Галактика, поэтому последующее выполнение однотипных операций сводится к нажатию нескольких клавиш.
Модуль Обмен бизнес-документами является ключевым при обмене документами, создаваемыми в Контуре логистики, Бухгалтерском контуре, Контуре управления производством и т.д. Он является надежным посредником между системой Галактика и иными системами обработки данных (СУБД, текстовыми редакторами, электронными таблицами, интернет-браузерами). Если же необходим обмен только платежными документами, можно воспользоваться модулем Клиент-Банк, специально предназначенным для этих целей
Все документы, формируемые в системе Галактика , сохраняются в базе данных. При экспорте копия документа из базы данных сохраняется в файле, указанном в настройке экспорта. При импорте в базу данных добавляется новый документ, созданный на основании данных из файла, указанного в настройке импорта. Все сеансы экспорта/импорта документов фиксируются в протоколе, где указывается время сеансов и номера документов.
Процесс экспорта/импорта максимально автоматизирован, что экономит не только время, но и в большой мере исключает вероятность возникновения ошибок при синхронизации баз данных.
В процессе деятельности предприятий со сложной корпоративной структурой, использующих систему Галактика, существует задача совместного использования части таблиц базы данных многими предприятиями, входящими в корпорацию. Конечно, каждая корпорация имеет свою специфику, но общая постановка задачи может быть представлена в виде следующего упрощенного примера.
Имеется ряд предприятий, входящих в корпорацию, каждое из которых является юридическим лицом со своим учетом и отчетностью. Головной офис координирует работу всех предприятий. Часть информации, содержащейся в базе данных головного офиса, может использоваться всеми предприятиями корпорации. Информация, специфичная для каждого конкретного предприятия, общей быть не может.
Принцип работы системы Галактика в режиме с общими (так называемыми разделяемыми) таблицами можно рассмотреть на следующем примере.
Имеются несколько независимых баз данных Галактики. Для организации архитектуры системы с разделяемыми таблицами (Enterprise-архитектуры) используется модуль Enterprise. Одна из баз данных определяется как Master-база, остальные - как Slave-базы. Кроме того, для Master-базы определяется перечень разделяемых таблиц. В Slave-базах автоматически производится настройка таблиц-ссылок, в соответствии с информацией Master-базы.
В результате произведенных настроек Enterprise-архитектуру системы можно представить следующим образом (рис. 45):
В процессе работы системы для всех баз данных будут доступны разделяемые таблицы. Модификация разделяемых таблиц может быть произведена пользователями и Master-базы, и любой Slave-базы (с учетом разграничения прав доступа). Результаты модификации сохраняются в Master-базе.
При использовании системы разграничения прав доступа действуют права, рассчитанные для каждой базы. Права на разделяемые таблицы действуют для пользователя точно так же, как и на неразделяемые.
Модуль Права доступа является основным инструментом защиты базы данных системы Галактика от несанкционированного доступа.
Модуль Права доступа позволяет:
· Регистрировать пользователей системы.
· Регистрировать группы пользователей системы.
· Установить видимость меню системы индивидуально каждому пользователю и группам пользователей.
· Установить права на чтение, добавление, модификацию и удаление записей (групп записей) в таблицах БД для каждого пользователя или группы пользователей.
· Установить права на чтение, добавление, модификацию и удаление отдельных полей в записях таблиц базы данных для каждого пользователя или группы пользователей.
Поддерживаются такие атрибуты пользователя, как его идентификатор, пароль, дата установки и период действия пароля.
Используя модуль Права доступа совместно с модулем Репликация данных, можно устанавливать права доступа не только в своем офисе, но и в территориально удаленных офисах. Имеется возможность создавать различные схемы администрирования корпорации, например администрирование всей корпорации из одного офиса или из нескольких офисов-администраторов.

Рис. 45. Enterprise-архитектура системы
Модуль Консоль администратора является инструментом
администратора системы и предназначен для оперативного управления и оптимизации
процесса работы пользователей в системе Галактика в условиях ограниченного
количества лицензий на контуры и модули.
Консоль администратора позволяет:
· Вести оперативное наблюдение за процессом
работы пользователей в системе Галактика. При этом имеется возможность
наблюдения местонахождения каждого пользователя (контур, модуль). Используя
информацию о наличии свободных и занятых лицензий на контуры и модули (текущие
и пиковые значения), администратор системы может в любой момент времени оценить
загруженность системы в целом и каждого контура или модуля в отдельности.
· Управлять процессом работы в системы
Галактика. Администратор имеет возможность блокировать вход в любой контур или
модуль для отдельных пользователей; отключить выбранных пользователей от
контура, модуля или полностью от системы; блокировать вход в базу данных для
выбранных пользователей; посылать текстовые сообщения пользователям.
· Вести регистрацию событий системы
лицензирования в специальном журнале, а также получать по нему отчеты. В
журнале регистрируются системное имя пользователя, система, контур, компонент,
в котором находится пользователь, а также тип события (удачный вход или
неудачный вход и т.д.). Имеется возможность просмотра всего журнала
регистрации, а также перечень событий, отфильтрованный по определенному
пользователю, контуру, модулю, по диапазону дат и времени, а также по типу
события. Информация, хранящаяся в журнале, может быть использована для анализа
«узких мест» (нехватки лицензий), и принятия решения о мерах их устранения.
· Оптимизировать процесс работы в системе
Галактика путем задания приоритетов и способов захвата лицензий, что дает
возможность использования (а, следовательно, и закупки) ограниченного числа
лицензий.
Используя Консоль администратора
совместно с модулем Репликация
данных, можно настраивать регистрацию событий системы лицензирования не только
в своем офисе, но и в территориально удаленных офисах. Кроме того, совместное
использование данных модулей дает возможность контролировать события системы
лицензирования в других офисах.
Модуль Журнализация предназначен для контроля над
действиями пользователей по изменению базы данных.
Модуль осуществляет ведение системного журнала
регистрации действий пользователей по изменению базы данных. Ведение журнала
возможно по всей базе данных или по выбранному перечню таблиц.
В журнале регистрируются дата и время внесения
изменений, системное имя оператора, совершившего данные действия, а также
состояние модифицированной записи таблицы базы данных до и после внесения
изменений.
Имеется возможность просмотра всех записей журнала
регистрации, так и записей, отфильтрованных по определенному пользователю, по
таблице или по диапазону дат.
Используя модуль Журнализация совместно с модулем Репликация данных, можно
настраивать систему журнализации не только в своем офисе, но и в территориально
удаленных офисах. Кроме того, совместное использование данных модулей дает
возможность контролировать действия пользователей других офисов, приведшие к
изменениям Вашей базы данных.
Вся информация, хранящаяся в журнале, используется для
восстановления базы данных в случае ее повреждения (совместно с модулем
Восстановление БД), а также для рассмотрения нештатных ситуаций.
В процессе эксплуатации любой программной системы
всегда имеется вероятность порчи базы данных из-за сбоев оборудования или
некорректных действий пользователя. В системе Галактика для устранения
последствий таких событий предусмотрен модуль Восстановление БД, с помощью
которого восстанавливается информация базы данных, утерянная по каким-либо
причинам или ошибочно модифицированная в результате некорректных действий
пользователя.
Восстановление базы данных осуществляется на основе
текущей или ранее сохраненной версии базы данных и журнала действий
пользователей по изменению базы данных (модуль Журнализация ).
Восстановление данных возможно на любую дату и время в пределах периода ведения
журнала.
Модуль Восстановление БД выполняет следующие функции:
· настройка системы восстановления базы данных;
· восстановление базы данных по журналу
регистрации действий пользователей;
· сохранение базы данных и журнала регистрации
действий пользователей в архиве и восстановление архивного варианта этих
данных;
· проверка журнала регистрации изменений на
корректность.
Использование модуля Восстановление БД совместно с
модулем Репликация данных позволяет настраивать систему восстановления базы
данных не только в своем офисе, но и в территориально удаленных офисах.
Восстановление базы данных в других офисах возможно
путем откатки изменений базы данных в своем офисе и пересылки этих изменений в
другие офисы.
Модуль Репликация данных предназначен для организации
межофисного обмена данными системы Галактика и решает задачу слияния баз
данных, расположенных в территориально удаленных локальных вычислительных
сетях.
Система межофисного обмена данными поддерживает
произвольное число абонентов (локальных вычислительных сетей или отдельных
компьютеров), объединенных в иерархические группы и осуществляющих пересылку
данных между собой через электронную почту, модем или внешние носители данных
(дискеты, компакт-диски и проч.).
Поддерживается однонаправленный или двунаправленный
селективный и полный обмен данными.
Возможна передача изменений по всей базе данных и по
отдельным таблицам.
Процесс межофисного обмена заключается в регистрации
изменений базы данных у каждого абонента, участвующего в обмене, с последующей
обработкой на Corpo-сервере и рассылкой изменений с учетом заданной топологии
обмена.
При проведении обмена все изменения пересылаются от
клиентов на сервер (в том числе от других серверов, которые для данного сервера
также являются клиентами). После приема пришедших изменений, сервер выбирает
изменения собственной базы данных, добавляет к ним пришедшие изменения баз
данных клиентов и других серверов, разрешает возможные межсетевые конфликты и
формирует почту для отсылки обратно клиентам.
После этого сформированные сервером изменения
передаются клиентам в соответствии с настройками.
Если клиент не является другим сервером, то после
приема почты у него происходит внедрение пришедших изменений в собственную базу
данных. Если клиентом данного сервера является другой сервер, то на нем
производится формирование другого пакета изменений для его клиентов и связанных
с ним серверов.
В качестве примера на рис. 46 представлена одна
из возможных топологий системы репликации данных. Выделен путь обмена между
абонентами КЛИЕНТ 2-2 и КЛИЕНТ 4-i.

Рис. 46. Пример топологии системы
репликации данных
Модуль ADF2DDF предназначен для преобразования
словарей базы данных системы Галактика (формат ADF) в формат DDF, являющийся
стандартом для драйверов ODBC к системе управления записями Pervasive SQL.
После конвертации словаря осуществляется возможность получения полного доступа
к базе данных системы Галактика из приложений, использующих ODBC-доступ к
данным (Excel, Word, Paradox, DBase, Access).
Модуль предназначен для диагностики и лечения файлов
Btrieve (Pervasive SQL) и используется в системе Галактика только на платформе
Pervasive SQL.
В процессе диагностики все таблицы базы данных
проверяются на корректность словарю. При лечении производится создание
резервной копии файла, и далее восстанавливаются данные: нарушенная индексная
структура и структура (заголовок) файла.
Модуль Локализатор предназначен для автоматизации
процесса перевода интерфейса пользователя (экранных форм, сообщений, отчетов и
т.д.) с языка разработки системы на другие языки и терминологию, что позволяет
адаптировать систему Галактика к отраслевым и языковым особенностям
пользователя.
Объектами локализации могут быть элементы
пользовательского интерфейса системы, содержащие строковые константы, такие как
интерфейсы, диалоги, логические таблицы, меню, строки статуса, строки сообщений,
отчеты и так далее.
Поддерживается групповая работа над одной локализуемой
версией и объединение результатов работы нескольких пользователей.
При установке новой версии системы Галактика поверх
локализованной системы имеется возможность автоматически локализовать ее
большую часть по выполненным ранее переводам.
Непосредственно перевод строк пользовательского
интерфейса производится в текстовом редакторе или с использованием списка
подстановок. Возможно использование внешнего текстового редактора и вспомогательных
средств перевода.
Модуль Конфигуратор представляет собой пакет функций
для управления элементами интерфейса пользователя из кода, созданного с помощью
языковых средств, использующихся при разработке системы Галактика (VIP, Pascal
или C).
Модуль Конфигуратор предназначен для изменения любых
свойств любых объектов системы Галактика. Список типов объектов включает меню,
диалоговые окна, панели, флажки, кнопки-опции, поля и т.д. Свойства объектов
зависят от их типа. Например, поля могут содержать текстовую или числовую
информацию.
Модуль Конфигуратор дает возможность:
· изменять меню модуля, из которого запущен
Конфигуратор - управлять видимостью и изменять названия пунктов меню,
редактировать строки подсказки к пунктам меню, устанавливать горячие клавиши
для пунктов меню нижнего уровня;
· работать с окнами и входящими в них объектами
- изменять размеры, положение и видимость объектов, изменять заголовки окон,
редактировать строки подсказки, добавлять и удалять поля;
· работать с параметрами системы Галактика и
инструментального комплекса Support.
Результаты конфигурирования сохраняются в текстовом скрипт-файле. Затем этот файл можно
отредактировать вручную в текстовом редакторе и загрузить с помощью Конфигуратора.